| ||||||
| № п/п | Наименование | Код детали | ||||
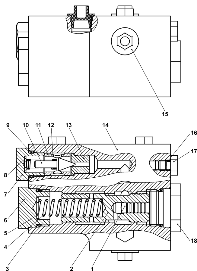
| 0 | Клапан | 0901-26-25СП(SP) | ||||
| 0 | Клапан | 0901-26-25-20СП(SP) | ||||
| 1 | Плунжер | 312501-26-167 | ||||
| 2 | Золотник | 3501-26-22 | ||||
| 3 | Кольцо 032-038-36-2-51-1668 ТУ2531-260-00149245-00 | - | ||||
| 4 | Пружина | 38 5275 | ||||
| 5 | Шайба 10 ГОСТ 11371-78 | 31 0170 | ||||
| 5 | Шайба 10 ГОСТ 11371-78 | 31 0170-20 | ||||
| 6 | Пробка | 37 5950 | ||||
| 7 | Пробка | 37 5714-02 | ||||
| 7 | Пробка | 37 5714-02-20 | ||||
| 8 | Шайба | 31 5090 | ||||
| 9 | Кольцо 021-027-36-2-51-1668 ТУ2531-260-00149245-00 | - | ||||
| 10 | Клапан | 1501-15-46 | ||||
| 11 | Втулка | 0901-26-39 | ||||
| 12 | Пружина | 38 5159 | ||||
| 13 | Втулка | 0901-26-38 | ||||
| 14 | Корпус | 0901-26-1 | ||||
| 15 | Заглушка | 44 0057 | ||||
| 16 | Кольцо 007-011-25-2-51-1668 ТУ2531-260-00149245-00 | - | ||||
| 17 | Пробка | 37 5245 | ||||
| 17 | Пробка | 37 5245-20 | ||||
| 18 | Пробка | 37 5950-01 | ||||
Обращаем Ваше внимание, что пункты отмеченные звездочкой, обязательны для заполнения.