| ||||||
| № п/п | Наименование | Код детали | ||||
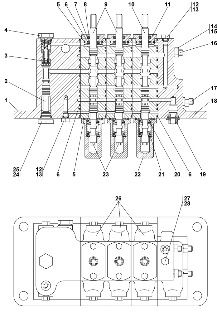
| 0 | Распределитель секционный | 3501-26-63СП(SP) | ||||
| 0 | Распределитель секционный | 3501-26-63-20СП(SP) | ||||
| 1 | Корпус | 3501-26-130 | ||||
| 1 | Корпус | 3501-26-130-20 | ||||
| 2 | Золотник | 3501-26-166 | ||||
| 3 | Пружина | 38 5159 | ||||
| 4 | Пробка | 37 5625-01 | ||||
| 4 | Пробка | 37 5625-01-20 | ||||
| 5 | Кольцо 032-038-36-2-51-1668 ТУ 2531-260-00149245-00 | - | ||||
| 6 | Кольцо 016-020-25-2-51-1668 ТУ 2531-260-00149245-00 | - | ||||
| 7 | Кольцо | 3501-26-259 | ||||
| 8 | Кольцо 014-018-25-2-51-1668 ТУ 2531-260-00149245-00 | - | ||||
| 9 | Золотник | 3501-26-165 | ||||
| 10 | Золотник | 3501-26-167 | ||||
| 11 | Крышка | 3501-26-258 | ||||
| 12 | Пробка | 37 5245 | ||||
| 12 | Пробка | 37 5245-20 | ||||
| 13 | Кольцо 007-011-25-2-51-1668 ТУ 2531-260-00149245-00 | - | ||||
| 14 | Гайка М12x1,25 ГОСТ 5915-70 | 30 0215-01 | ||||
| 14 | Гайка М12x1,25 ГОСТ 5915-70 | 30 0215-20 | ||||
| 15 | Шайба 12 ОТ ГОСТ 6402-70 | - | ||||
| 16 | Шпилька | 3501-26-173 | ||||
| 16 | Шпилька | 3501-26-173-20 | ||||
| 17 | Шпилька | 3501-26-173-01 | ||||
| 17 | Шпилька | 3501-26-173-01-20 | ||||
| 18 | Корпус | 3501-26-128 | ||||
| 18 | Корпус | 3501-26-128-20 | ||||
| 19 | Заглушка | 44 0057 | ||||
| 20 | Пружина | 38 5325-01 | ||||
| 21 | Тарелка | 3501-26-172 | ||||
| 22 | Крышка | 3501-26-170 | ||||
| 23 | "Пробка кг 1/8""20 ТУ 23.1.506-91" | 37 0140-08 | ||||
| 24 | Кольцо 018-022-25-2-51-1668 ТУ 2531-260-00149245-00 | - | ||||
| 25 | Пробка | 37 5625 | ||||
| 25 | Пробка | 37 5625-20 | ||||
| 26 | Корпус | 3501-26-129 | ||||
| 26 | Корпус | 3501-26-129-20 | ||||
| 27 | Болт М8-6gx30 ГОСТ 7796-70 | - | ||||
| 28 | Шайба 8Т ГОСТ 6402-70 | - | ||||
Обращаем Ваше внимание, что пункты отмеченные звездочкой, обязательны для заполнения.