| ||||||
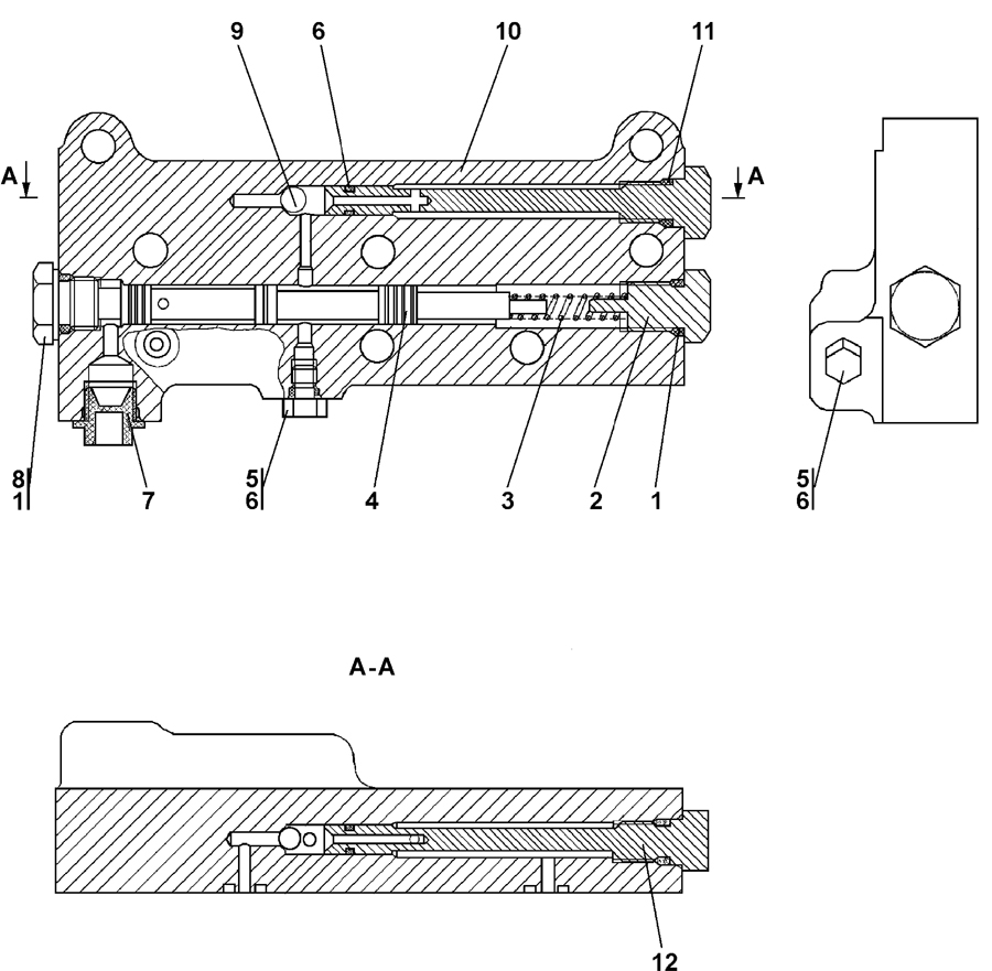
| № п/п | Наименование | Код детали | ||||
| 0 | Клапан | 3501-26-150СП(SP) | ||||
| 0 | Клапан | 3501-26-150-20СП(SP) | ||||
| 1 | Кольцо 018-022-25-2-51-1668 ТУ2531-260-00149245-00 | - | ||||
| 2 | Ограничитель | 3501-26-136 | ||||
| 2 | Ограничитель | 3501-26-136-20 | ||||
| 3 | Пружина | 38 5274 | ||||
| 4 | Корпус | 3501-26-124-20 | ||||
| 5 | Пробка | 37 5245 | ||||
| 5 | Пробка | 37 5245-20 | ||||
| 6 | Кольцо 007-011-25-2-51-1668 ТУ2531-260-00149245-00 | - | ||||
| 7 | Заглушка | 44 0057 | ||||
| 8 | Пробка | 37 5625 | ||||
| 8 | Пробка | 37 5625-20 | ||||
| 9 | Шарик Б10-100 ГОСТ 3722-81 | - | ||||
| 10 | Корпус | 3501-26-124 | ||||
| 10 | Корпус | 3501-26-124-20 | ||||
| 11 | Кольцо 014-018-25-2-51-1668 ТУ2531-260-00149245-00 | - | ||||
| 12 | Направляющая | 3501-26-135 | ||||
| 12 | Направляющая | 3501-26-135-20 | ||||
Обращаем Ваше внимание, что пункты отмеченные звездочкой, обязательны для заполнения.