| ||||||
| № п/п | Наименование | Код детали | ||||
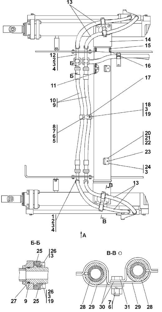
| 0 | Установка гидроцилиндров | 2506-26-11СП(SP) | ||||
| 0 | Установка гидроцилиндров | 2506-26-11-20СП(SP) | ||||
| 1 | Трубопровод | 3501-26-207СП(SP) | ||||
| 1 | Трубопровод | 3501-26-207-20СП(SP) | ||||
| 2 | Болт М12x1,25-6gx35 ГОСТ 7796-70 | - | ||||
| 3 | Шайба 12 ОТ ГОСТ 6402-70 | - | ||||
| 4 | Шайба 12 ГОСТ 6958-78 | 31 0230 | ||||
| 4 | Шайба 12 ГОСТ 6958-78 | 31 0230-20 | ||||
| 5 | Шайба 16 ГОСТ 11371-78 | 31 0270 | ||||
| 5 | Шайба 16 ГОСТ 11371-78 | 31 0270-20 | ||||
| 6 | Шайба 16 ОТ ГОСТ 6402-70 | - | ||||
| 7 | Гайка М16x1,5 ГОСТ 5915-70 | - | ||||
| 8 | Болт М16x1,5-6gx45 ГОСТ 7796-70 | 28 0544 | ||||
| 8 | Болт М16x1,5-6gx45 ГОСТ 7796-70 | 28 0544-20 | ||||
| 9 | Кольцо защитное | 44 0038 | ||||
| 10 | Рукав d25 | 404-26-118-04СП(SP) | ||||
| 10 | Рукав d25 | 404-26-118-04-20СП | ||||
| 11 | Втулка опорная | 3501-26-286 | ||||
| 12 | Трубопровод | 3501-26-208CП(SP) | ||||
| 12 | Трубопровод | 3501-26-208-20СП(SP) | ||||
| 13 | Рукав d25 | 700-46-2112-09СП(SP) | ||||
| 13 | Рукав d25 | 700-46-2112-09-20СП | ||||
| 14 | Ось | 2501-26-284СП(SP) | ||||
| 14 | Ось | 2501- 26-284-20СП(SP) | ||||
| 15 | Кольцо | 3501-26-300 | ||||
| 16 | Втулка опорная | 3501-26-285 | ||||
| 17 | Планка | 312501-94-155 | ||||
| 17 | Планка | 312501-94-155-20 | ||||
| 18 | Болт М12x1,25-6gx25 ГОСТ 7796-70 | - | ||||
| 19 | Шайба 12x2 ГОСТ 11371-78 | 31 0210 | ||||
| 19 | Шайба 12x2 ГОСТ 11371-78 | 31 0210-20 | ||||
| 20 | Стопор | 46-26-654 | ||||
| 21 | Крышка | 46-26-659 | ||||
| 21 | Крышка | 46-26-659-20 | ||||
| 22 | Прокладка | 700-40-6563 | ||||
| 22 | Прокладка | 700-40-6563-20 | ||||
| 23 | Масленка 1.2ц6хр ГОСТ 19853-74 | - | ||||
| 23 | Масленка 1.2кд6хр ГОСТ 19853-74 | - | ||||
| 24 | Болт М12x1,25-6gx30 ГОСТ 7796-70 | - | ||||
| 25 | Фланец | 2501-26-83 | ||||
| 25 | Фланец | 2501-26-83-20 | ||||
| 26 | Болт М12x1,25-6gx40 ГОСТ 7796-70 | - | ||||
| 27 | Кольцо 032-038-36-2-51-1668 ТУ 2531-260-00149245-00 | - | ||||
| 28 | Втулка | 40 0354-03 | ||||
| 29 | Планка | 2501-26-221 | ||||
| 29 | Планка | 2501-26-221-20 | ||||
| 30 | Скоба | 2501-26-220 | ||||
| 30 | Скоба | 2501-26-220-20 | ||||
| 31 | Болт М16x1,5-6gx35 ГОСТ 7796-70 | - | ||||
Обращаем Ваше внимание, что пункты отмеченные звездочкой, обязательны для заполнения.