| ||||||
| № п/п | Наименование | Код детали | ||||
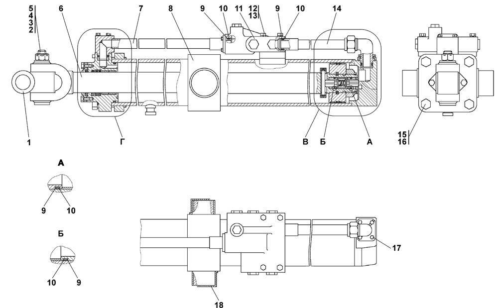
| 0 | Гидроцилиндр d140 | 2501-26-1000-01СП(SP) | ||||
| 0 | Гидроцилиндр d140 | 2501-26-1000-01-20СП | ||||
| 1 | Шарнир | 2501-26-1108 | ||||
| 2 | Шплинт 6,3x71 ГОСТ 397-79 | - | ||||
| 3 | Гайка М30x2 ГОСТ 5918-73 | 30 0431 | ||||
| 3 | Гайка М30x2 ГОСТ 5918-73 | 30 0431-20 | ||||
| 4 | Кольцо | 2501-26-1107 | ||||
| 4 | Кольцо | 2501-26-1107-20 | ||||
| 5 | Палец | 2501-26-1106 | ||||
| 6 | Шток | 46-26-1513-03 | ||||
| 6 | Шток | 46-26-1513-03-20 | ||||
| 7 | Трубопровод | 2501-26-1005СП(SP) | ||||
| 7 | Трубопровод | 2501-26-1005-20СП | ||||
| 8 | Корпус | 2501-26-1003-01СП(SP) | ||||
| 9 | Шайба защитная | 2601-26-25 | ||||
| 10 | Кольцо 034-040-36-2-51-1668 ТУ 2531-260-00149245-00 | - | ||||
| 11 | Блок клапанов | 2501-26-1020СП(SP) | ||||
| 11 | Блок клапанов | 2501-26-1020-20СП | ||||
| 12 | Болт М16x1,5-6gx85 ГОСТ 7795-70 | 28 0566 | ||||
| 12 | Болт М16x1,5-6gx85 ГОСТ 7795-70 | 28 0566-20 | ||||
| 13 | Шайба 16.ОТ ГОСТ 6402-70 | - | ||||
| 14 | Трубопровод | 2501-26-1004-01СП | ||||
| 14 | Трубопровод | 2501-26-1004-01-20СП | ||||
| 15 | Болт М30x2-6gx90 ГОСТ 7795-70 | 28 0935 | ||||
| 15 | Болт М30x2-6gx90 ГОСТ 7795-70 | 28 0935-20 | ||||
| 16 | Шайба | 31 5412 | ||||
| 16 | Шайба | 31 5412-20 | ||||
| 17 | Шайба 16 ГОСТ 11371-78 | 31 0270 | ||||
| 17 | Шайба 16 ГОСТ 11371-78 | 31 0270-20 | ||||
| 18 | Заглушка | 46-26-1515 | ||||
Обращаем Ваше внимание, что пункты отмеченные звездочкой, обязательны для заполнения.