8 (391) 285-35-15
8 (391) 259-62-06
8 (391) 259-62-49
 info@in124.ru
USD: 79,4495EUR: 93,2274
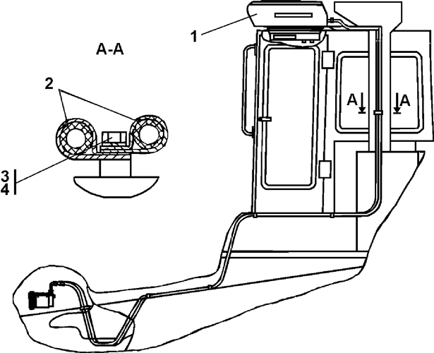
Установка кондиционера
№ п/пНаименованиеКод детали
УХЛ
Т
У
0Установка кондиционера2502-48-2-03СП(SP)
1
1
-
1Кондиционер KL-2C в комплекте1102-10-176СП(SP)
1
1
-
2Хомутик700-41-3307
14
14
-
3Болт М8-6gx16 ГОСТ 7796-70-
9
9
-
4Шайба 8Т ГОСТ 6402-70-
9
9
-

© ООО Инженерные машины, 2016