| ||||||
| № п/п | Наименование | Код детали | ||||
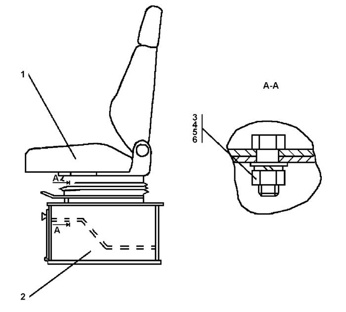
| 0 | Установка сиденья | 1101-23-1СП(SP) | ||||
| 0 | Установка сиденья | 1101-23-1-20СП(SP) | ||||
| 1 | Сиденье водителя Р405CВ/М80Н | - | ||||
| 2 | Каркас переходной | 1101-23-101СП(SP) | ||||
| 2 | Каркас переходной | 1101-23-101-20СП(SP) | ||||
| 3 | Болт М8-6x25 ГОСТ 7796-70 | - | ||||
| 4 | Гайка М8 ГОСТ 5915-70 | - | ||||
| 5 | Шайба 8Т ГОСТ 6402-70 | - | ||||
| 6 | Шайба 8 ГОСТ 11371-78 | 31 0150 | ||||
| 6 | Шайба 8 ГОСТ 11371-78 | 31 0150-20 | ||||
Обращаем Ваше внимание, что пункты отмеченные звездочкой, обязательны для заполнения.