| ||||||
| № п/п | Наименование | Код детали | ||||
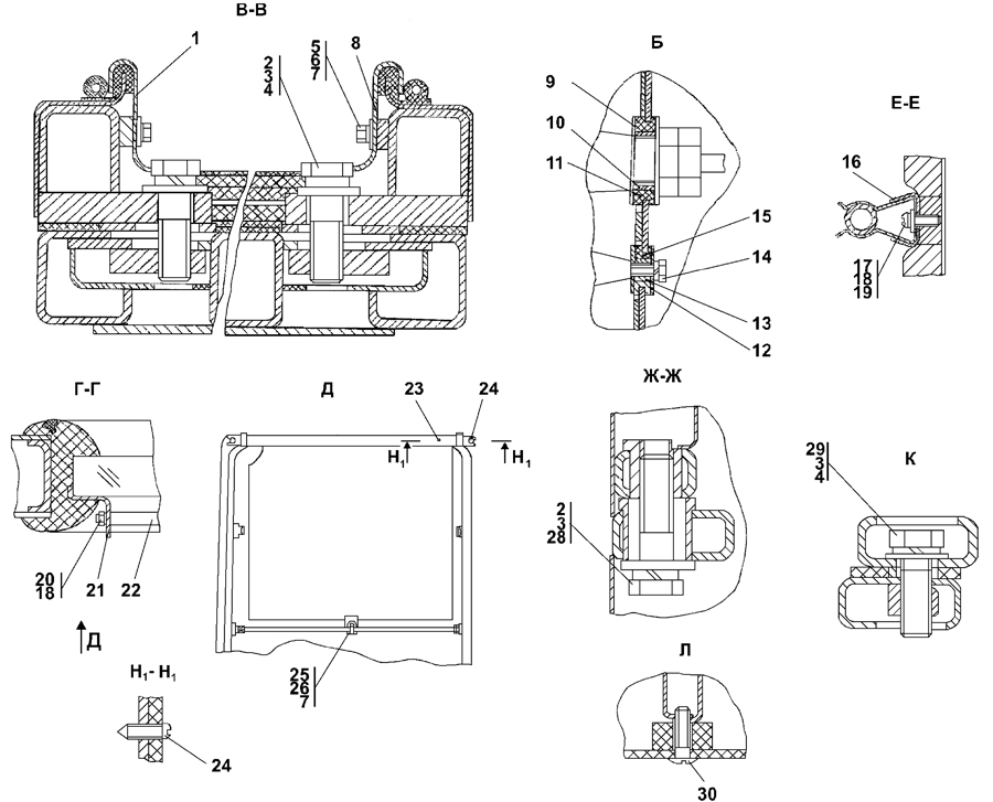
| 1 | Планка | 3501-24-199 | ||||
| 1 | Планка | 3501-24-199-20 | ||||
| 2 | Болт М16x1,5-6gx60 ГОСТ 7795-70 | - | ||||
| 3 | Шайба 16 ОТ ГОСТ 6402-70 | - | ||||
| 4 | Шайба 16 ГОСТ 11371-78 | 31 0270 | ||||
| 4 | Шайба 16 ГОСТ 11371-78 | 31 0270-20 | ||||
| 5 | Болт М6-6gx16 ГОСТ 7798-70 | - | ||||
| 6 | Шайба 6Т ГОСТ 6402-70 | - | ||||
| 7 | Шайба 6 ГОСТ 11371-78 | 31 0110 | ||||
| 7 | Шайба 6 ГОСТ 11371-78 | 31 0110-20 | ||||
| 8 | Планка | 3501-24-200 | ||||
| 8 | Планка | 3501-24-200-20 | ||||
| 9 | Шайба | 31 5390 | ||||
| 9 | Шайба | 31 5390-20 | ||||
| 10 | Втулка | 2501-59-242 | ||||
| 11 | Кольцо | 700-40-3141 | ||||
| 12 | Шайба | 2501-59-243 | ||||
| 13 | Втулка | 2501-59-241 | ||||
| 14 | Болт М6-6gx20 ГОСТ 7798-70 | - | ||||
| 15 | Кольцо | 700-40-6695 | ||||
| 16 | Упор | 2501-89-188 | ||||
| 17 | Винт В.М5-6gx12 ГОСТ 17473-80 | - | ||||
| 18 | Шайба 5 ГОСТ 6402-70 | - | ||||
| 19 | Шайба 5 ГОСТ 11371-78 | 31 0080 | ||||
| 19 | Шайба 5 ГОСТ 11371-78 | 310080-20 | ||||
| 20 | Гайка М5 ГОСТ 5927-70 | - | ||||
| 21 | Кронштейн | 2501-59-93 | ||||
| 21 | Кронштейн | 2501-59-93-20 | ||||
| 22 | Стержень | 2501-59-261 | ||||
| 22 | Стержень | 2501-59-261-20 | ||||
| 23 | Шторка автомобильная тип 0276 | - | ||||
| 24 | Винт 4x16 ОСТ 37.001.187-81 | 45 9632 1017 | ||||
| 25 | Винт В.М4-6gx12 ГОСТ 17473-80 | - | ||||
| 26 | Гайка М4 ГОСТ 5927-70 | - | ||||
| 28 | Шайба | 700-31-2209 | ||||
| 28 | Шайба | 700-31-2209-20 | ||||
| 29 | Болт М16x1,5-6gx45 ГОСТ 7796-70 | 28 0544 | ||||
| 29 | Болт М16x1,5-6gx45 ГОСТ 7796-70 | 28 0544-20 | ||||
| 30 | Винт | 35 5440 | ||||
Обращаем Ваше внимание, что пункты отмеченные звездочкой, обязательны для заполнения.