8 (391) 285-35-15
8 (391) 259-62-06
8 (391) 259-62-49
 info@in124.ru
USD: 79,4495EUR: 93,2274
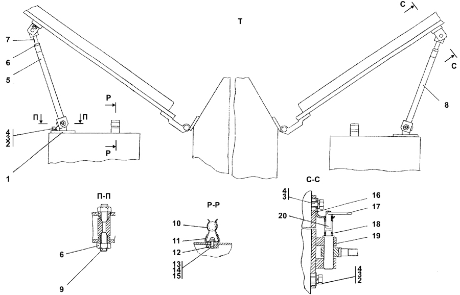
Кабина
№ п/пНаименованиеКод детали
УХЛ
Т
У
1Кронштейн2501-59-159СП(SP)
2
-
2
1Кронштейн2501-59-159-20СП(SP)
-
2
-
2Шайба 10 ГОСТ 11371-78 31 0170
10
-
10
2Шайба 10 ГОСТ 11371-7831 0170-20
-
10
-
3Шайба 10 ОТ ГОСТ 6402-70-
12
12
12
4Болт М10-6gx30 ГОСТ 7796-70-
12
12
12
5Тяга1101-59-103СП(SP)
1
-
1
5Тяга1101-59-103-20СП(SP)
-
1
-
6Гайка М12x1,25 ГОСТ 5915-70-
6
6
6
7Наконечник1101-59-102СП(SP)
2
-
2
7Наконечник1101-59-102-20СП(SP)
-
2
-
8Тяга1101-59-103-01СП(SP)
1
-
1
8Тяга1101-59-103-01-20СП
-
1
-
9Винт2501-59-185
4
-
4
9Винт2501-59-185-20
-
4
-
10Скоба2501-89-31
5
-
5
10Скоба2501-89-31-20
-
5
-
11Упор2501-89-188
5
5
5
12Планка1101-59-10
2
-
2
12Планка1101-59-10-20
-
2
-
13Винт В.М5-6gx16 ГОСТ 17473-80-
4
4
4
14Шайба 5 ГОСТ 6402-70-
24
24
24
15Шайба 5 ГОСТ 11371-7831 0080
8
-
8
15Шайба 5 ГОСТ 11371-7831 0080-20
-
8
-
16Уголок1101-59-4
2
-
2
16Уголок1101-59-4-20
-
2
-
17Кольцо46-43-105-01
2
-
2
17Кольцо46-43-105-10
-
2
-
18Пружина700-38-2517-01
2
-
2
18Пружина700-38-2517-20
-
2
-
19Кронштейн1101-59-101СП(SP)
2
-
2
19Кронштейн1101-59-101-20СП(SP)
-
2
-
20Стержень1101-59-3
2
-
2
20Стержень1101-59-3-20
-
2
-

© ООО Инженерные машины, 2016