8 (391) 285-35-15
8 (391) 259-62-06
8 (391) 259-62-49
 info@in124.ru
USD: 79,4495EUR: 93,2274
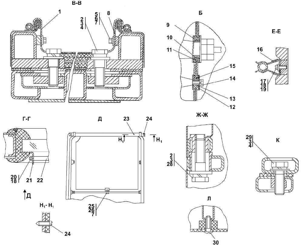
Кабина
№ п/пНаименованиеКод детали
УХЛ
Т
У
1Планка3501-24-199
1
-
1
1Планка3501-24-199-20
-
1
-
2Болт М16x1,5-6gx60 ГОСТ 7795-70-
8
8
8
3Шайба 16 ОТ ГОСТ 6402-70-
12
12
12
4Шайба 16 ГОСТ 11371-7831 0270
8
-
8
4Шайба 16 ГОСТ 11371-7831 0270-20
-
8
-
5Болт М6-6gx16 ГОСТ 7798-70-
6
6
6
6Шайба 6Т ГОСТ 6402-70-
14
14
14
7Шайба 6 ГОСТ 11371-7831 0110
18
-
18
7Шайба 6 ГОСТ 11371-7831 0110-20
-
18
-
8Планка3501-24-200
1
-
1
8Планка3501-24-200-20
-
1
-
9Шайба31 5390
8
-
8
9Шайба31 5390-20
-
8
-
10Втулка2501-59-242
4
4
4
11Кольцо700-40-3141
4
4
4
12Шайба2501-59-243
8
8
8
13Втулка2501-59-241
4
4
4
14Болт М6-6gx20 ГОСТ 7798-70-
4
4
4
15Кольцо700-40-6695
4
4
4
16Упор2501-89-188
5
5
5
17Винт В.М5-6gx12 ГОСТ 17473-80-
4
4
4
18Шайба 5 ГОСТ 6402-70-
24
24
24
19Шайба 5 ГОСТ 11371-7831 0080
8
-
8
19Шайба 5 ГОСТ 11371-78310080-20
-
8
-
20Гайка М5 ГОСТ 5927-70-
4
4
4
21Кронштейн2501-59-93
8
-
8
21Кронштейн2501-59-93-20
-
8
-
22Стержень2501-59-261
2
-
2
22Стержень2501-59-261-20
-
2
-
23Шторка автомобильная тип 0276-
2
2
2
24Винт 4x16 ОСТ 37.001.187-8145 9632 1017
12
12
12
25Винт В.М4-6gx12 ГОСТ 17473-80-
2
2
2
26Гайка М4 ГОСТ 5927-70-
2
2
2
28Шайба700-31-2209
4
-
4
28Шайба700-31-2209-20
-
4
-
29Болт М16x1,5-6gx45 ГОСТ 7796-7028 0544
4
-
4
29Болт М16x1,5-6gx45 ГОСТ 7796-7028 0544-20
-
4
-
30Винт35 5440
70
70
70

© ООО Инженерные машины, 2016