| ||||||
| № п/п | Наименование | Код детали | ||||
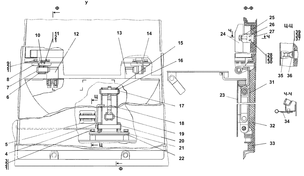
| 1 | Шайба 8 ГОСТ 11371-78 | 31 0150 | ||||
| 1 | Шайба 8 ГОСТ 11371-78 | 31 0150-20 | ||||
| 2 | Шайба 8Т ГОСТ 6402-70 | - | ||||
| 3 | Болт М8-6gx30 | - | ||||
| 4 | Торсион | 2501-89-93 | ||||
| 5 | Крышка | 2501-89-30 | ||||
| 5 | Крышка | 2501-89-30-20 | ||||
| 6 | Шайба | 2501-89-27 | ||||
| 7 | Ось | 2501-89-28-01 | ||||
| 8 | Кронштейн | 2501-89-156СП(SP) | ||||
| 8 | Кронштейн | 2501-89-156-20СП(SP) | ||||
| 9 | Болт М8-6gx20 ГОСТ 7796-70 | - | ||||
| 10 | Кронштейн | 2501-89-26-01 | ||||
| 10 | Кронштейн | 2501-89-26-01-20 | ||||
| 11 | Болт М8-6gx16 ГОСТ 7796-70 | - | ||||
| 12 | Кронштейн | 2501-89-106СП(SP) | ||||
| 12 | Кронштейн | 2501-89-106-20СП(SP) | ||||
| 13 | Кронштейн | 2501-89-106-01СП(SP) | ||||
| 13 | Кронштейн | 2501-89-106-01-20СП | ||||
| 14 | Кронштейн | 2501-89-26 | ||||
| 14 | Кронштейн | 2501-89-26-20 | ||||
| 15 | Втулка | 2501-89-206 | ||||
| 16 | Шайба | 31 5185 | ||||
| 16 | Шайба | 31 5185-20 | ||||
| 17 | Ось | 2501-89-28-02 | ||||
| 18 | Штанга | 2501-89-29 | ||||
| 18 | Штанга | 2501-89-29-20 | ||||
| 19 | Ось | 2501-89-28 | ||||
| 20 | Ось | 2501-89-92 | ||||
| 21 | Кронштейн | 2501-89-155СП(SP) | ||||
| 21 | Кронштейн | 2501-89-155-20СП(SP) | ||||
| 22 | Пластина | 2501-89-34 | ||||
| 23 | Каркас | 2501-89-169СП(SP) | ||||
| 23 | Каркас | 2501-89-169-20СП(SP) | ||||
| 24 | Каркас | 2501-89-140СП(SP) | ||||
| 24 | Каркас | 2501-89-140-20СП(SP) | ||||
| 25 | Пружина | 2501-89-32 | ||||
| 26 | Накладка | 2501-89-33 | ||||
| 26 | Накладка | 2501-89-33-20 | ||||
| 27 | Панель | 2501-89-64 | ||||
| 28 | Винт В.М6-6gx16 ГОСТ 17473-80 | - | ||||
| 29 | Шайба 6Т ГОСТ 6402-70 | - | ||||
| 30 | Шайба 6 ГОСТ 11371-78 | 31 0110 | ||||
| 30 | Шайба 6 ГОСТ 11371-78 | 31 0110-20 | ||||
| 31 | Упор | 2501-89-205 | ||||
| 31 | Упор | 2501-89-205-20 | ||||
| 32 | Панель | 2501-89-65 | ||||
| 33 | Панель | 2501-89-66 | ||||
| 34 | Упор | 2501-89-186 | ||||
| 35 | Скоба | 2501-89-31 | ||||
| 35 | Скоба | 2501-89-31-20 | ||||
| 36 | Упор | 2501-89-188 | ||||
| 37 | Шайба 5 ГОСТ 11371-78 | 31 0080 | ||||
| 37 | Шайба 5 ГОСТ 11371-78 | 31 0080-20 | ||||
| 38 | Шайба 5 ГОСТ 6402-70 | - | ||||
| 39 | Винт В.М5-6gx16 ГОСТ 17473-80 | - | ||||
Обращаем Ваше внимание, что пункты отмеченные звездочкой, обязательны для заполнения.