| ||||||
| № п/п | Наименование | Код детали | ||||
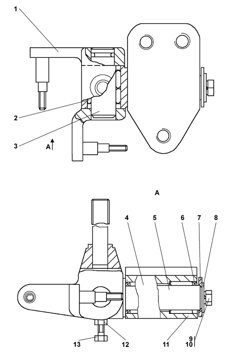
| 0 | Блок управления | 3501-13-171СП(SP) | ||||
| 0 | Блок управления | 3501-13-171-20СП(SP) | ||||
| 1 | Рычаг | 3501-13-279СП(SP) | ||||
| 1 | Рычаг | 3501-13-279-20СП(SP) | ||||
| 2 | Подшипник 941/20 ГОСТ 4060-78 | - | ||||
| 3 | Ось | 2501-13-133 | ||||
| 4 | Корпус | 2501-13-291 | ||||
| 5 | Ось | 2501-13-133 | ||||
| 6 | Кольцо СП26,5x19x3,5 ТУ 17 РСФСР 35-7755-84 | 50 0093 | ||||
| 7 | Шайба 20 ГОСТ 10450-78 | 31 0330 | ||||
| 7 | Шайба 20 ГОСТ 10450-78 | 31 0330-20 | ||||
| 8 | Шайба 8 ГОСТ 6958-78 | 31 0140 | ||||
| 8 | Шайба 8 ГОСТ 6958-78 | 31 0140-20 | ||||
| 9 | Болт М8-6gx20 ГОСТ 7796-70 | - | ||||
| 10 | Шайба 8Т ГОСТ 6402-70 | - | ||||
| 11 | Подшипник 942/20 ГОСТ 4060-78 | - | ||||
| 12 | Гайка М6 ГОСТ 5915-70 | - | ||||
| 13 | Болт М6-6gx20 ГОСТ 7798-70 | - | ||||
Обращаем Ваше внимание, что пункты отмеченные звездочкой, обязательны для заполнения.