| ||||||
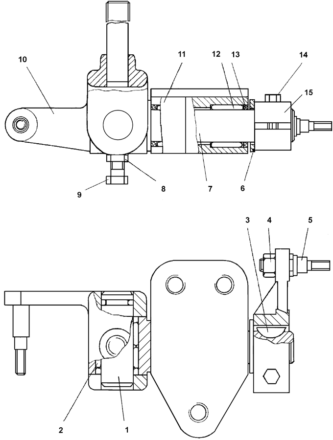
| № п/п | Наименование | Код детали | ||||
| 0 | Блок управления | 3501-13-172СП(SP) | ||||
| 0 | Блок управления | 3501-13-172-20СП(SP) | ||||
| 1 | Ось | 2501-13-133 | ||||
| 2 | Подшипник 941/20 ГОСТ 4060-78 | - | ||||
| 3 | Шпонка 5x7,5 ГОСТ 24071-97 | 340350 | ||||
| 4 | Гайка М8 ГОСТ 5915-70 | - | ||||
| 5 | Ось | 312001-13-27 | ||||
| 6 | Шайба 20 ГОСТ 10450-78 | 31 0330 | ||||
| 6 | Шайба 20 ГОСТ 10450-78 | 31 0330-20 | ||||
| 7 | Ось | 3501-13-174 | ||||
| 8 | Гайка М6 ГОСТ 5915-70 | - | ||||
| 9 | Болт М6-6gx20 ГОСТ 7798-70 | - | ||||
| 9 | Болт М6-6gx20 ГОСТ 7798-70 | - | ||||
| 10 | Рычаг | 3501-13-280СП(SP) | ||||
| 10 | Рычаг | 3501-13-280-20СП(SP) | ||||
| 11 | Корпус | 2501-13-291 | ||||
| 12 | Подшипник 942/20 ГОСТ 4060-78 | - | ||||
| 13 | Кольцо СП26,5x19x3,5 ТУ 17 РСФСР 35-7755-84 | 500093 | ||||
| 14 | Болт М8-6gx25 ГОСТ 7796-70 | - | ||||
| 14 | Болт М8-6gx25 ГОСТ 7796-70 | - | ||||
| 15 | Рычаг | 3501-13-161 | ||||
Обращаем Ваше внимание, что пункты отмеченные звездочкой, обязательны для заполнения.