| ||||||
| № п/п | Наименование | Код детали | ||||
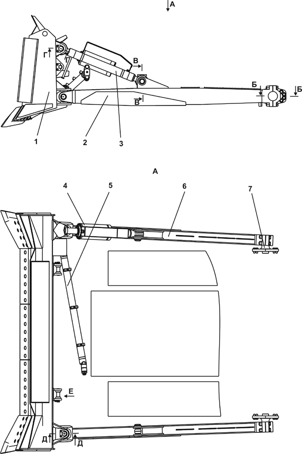
| 0 | Оборудование бульдозерное* | 2501-93-1СП(SP) | ||||
| 0 | Оборудование бульдозерное* | 2501-93-1-20СП(SP) | ||||
| 1 | Отвал | 2501-93-20СП(SP) | ||||
| 1 | Отвал | 2501-93-20-20СП(SP) | ||||
| 2 | Брус толкающий | ТМ2501-92-191СП(SP) | ||||
| 2 | Брус толкающий | ТМ2501-92-191-20СП | ||||
| 3 | Раскос винтовой | ТМ2501-92-220СП(SP) | ||||
| 3 | Раскос винтовой | ТМ2501-92-220-20СП | ||||
| 4 | Гидросистема бульдозерного оборудования | 2501-93-500СП(SP) | ||||
| 4 | Гидросистема бульдозерного оборудования | 2501-93-500-20СП(SP) | ||||
| 5 | Штанга | ТМ2501-92-260-01СП | ||||
| 5 | Штанга | ТМ2501-92-260-01-20СП | ||||
| 6 | Брус толкающий | ТМ2501-92-191-01СП | ||||
| 6 | Брус толкающий | ТМ2501-92-191-01-20СП | ||||
| 7 | Опора | 2501-92-280СП(SP) | ||||
| 7 | Опора | 2501-92-280-20СП(SP) | ||||
Обращаем Ваше внимание, что пункты отмеченные звездочкой, обязательны для заполнения.