| ||||||
| № п/п | Наименование | Код детали | ||||
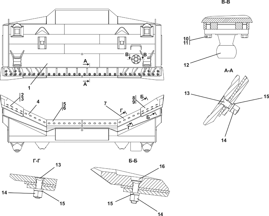
| 0 | Отвал | 2501-92-2СП (SP) | ||||
| 0 | Отвал | 2501-92-2-20СП(SP) | ||||
| 1 | Отвал | 2501-92-31СП(SP) | ||||
| 1 | Отвал | 2501-92-31-20СП(SP) | ||||
| 2 | Нож угловой (взамен поз.3) | 3501-93-22 | ||||
| 2 | Нож угловой | 3501-93-22-20 | ||||
| 3 | Нож угловой (допускается замена на поз. 2) | 3501-93-22-02 | ||||
| 3 | Нож угловой | 3501-93-22-02-20 | ||||
| 4 | Нож боковой | 2501-92-21-01 | ||||
| 4 | Нож боковой | 2501-92-21-01-20 | ||||
| 5 | Нож средний (взамен поз.6) | 3501-93-25-01 | ||||
| 5 | Нож средний | 3501-93-25-01-20 | ||||
| 6 | Нож средний (допускается замена на поз.5) | 46-93-22-01 | ||||
| 7 | Нож боковой | 2501-92-21 | ||||
| 7 | Нож боковой | 2501-92-21-20 | ||||
| 8 | Нож угловой (взамен поз.9) | 3501-93-22-01 | ||||
| 8 | Нож угловой | 3501-93-22-01-20 | ||||
| 9 | Нож угловой (допускается замена на поз.8) | 3501-93-22-03 | ||||
| 9 | Нож угловой | 3501-93-22-03-20 | ||||
| 10 | Болт 3М24x2-6gx55 ГОСТ 7796-70 | 28 0820 | ||||
| 10 | Болт 3М24x2-6gx55 ГОСТ 7796-70 | 28 0820-20 | ||||
| 11 | Шайба 24 ГОСТ 6402-70 | - | ||||
| 12 | Опора | 2501-93-100СП(SP) | ||||
| 12 | Опора | 2501-92-100-20СП(SP) | ||||
| 13 | Болт | 46-93-21 | ||||
| 13 | Болт | 46-93-21-20 | ||||
| 14 | Гайка | 300415-01 | ||||
| 14 | Гайка | 300415-01-20 | ||||
| 15 | Шайба | 2501-93-4 | ||||
| 15 | Шайба | 2501-93-4-20 | ||||
| 16 | Болт | 46-93-21-01 | ||||
| 16 | Болт | 46-93-21-01-20 | ||||
Обращаем Ваше внимание, что пункты отмеченные звездочкой, обязательны для заполнения.