| ||||||
| № п/п | Наименование | Код детали | ||||
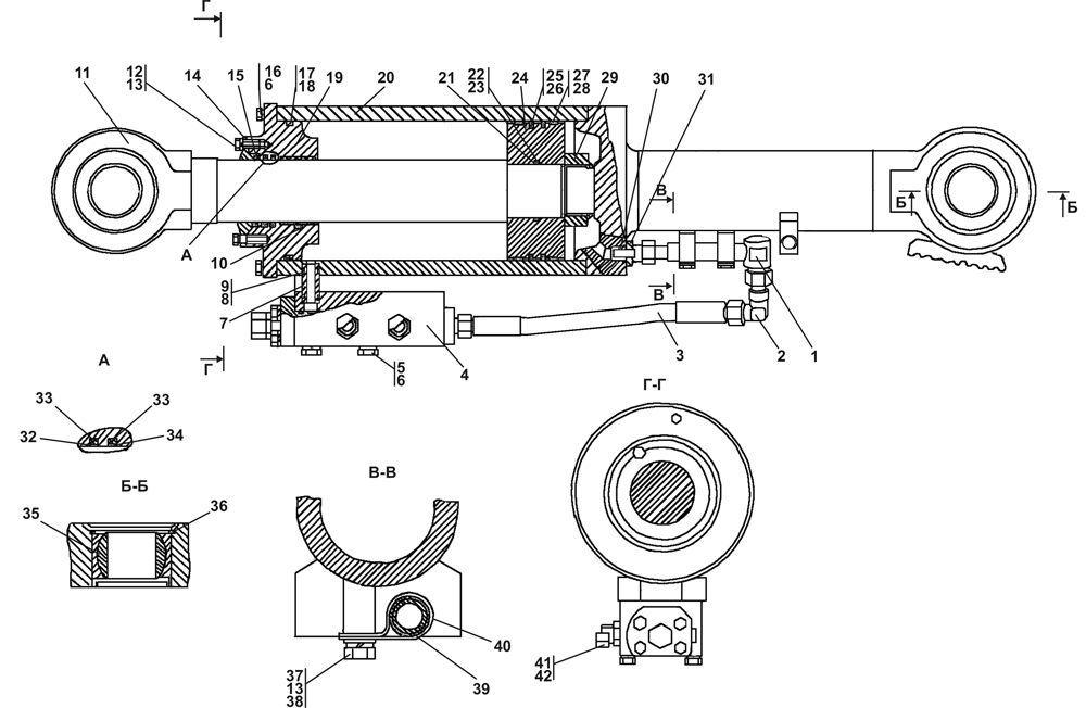
| 0 | Гидрораскос | 2501-93-533СП(SP) | ||||
| 0 | Гидрораскос | 2501-93-533-20СП(SP) | ||||
| 0 | Гидрораскос (состоит из узлов и дет поз.1-42) | 2501-93-525СП(SP) | ||||
| 0 | Гидрораскос | 2501-93-525-20СП(SP) | ||||
| 1 | Трубопровод | 2501-93-536СП(SP) | ||||
| 1 | Трубопровод | 2501-93-536-20СП(SP) | ||||
| 2 | Рукав высокого давления d16 армированный | 46-26-355-05СП(SP) | ||||
| 2 | Рукав высокого давления d16 армированный | 46-26-355-05-20СП | ||||
| 3 | Угольник | 46-26-314СП(SP) | ||||
| 3 | Угольник | 46-26-314-20СП(SP) | ||||
| 4 | Гидрозамок | 011501-93-508СП(SP) | ||||
| 4 | Гидрозамок | 011501-93-508-20СП | ||||
| 5 | Болт М16x1,5-6gx105 ГОСТ 7795-70 | 28 0570 | ||||
| 5 | Болт М16x1,5-6gx105 ГОСТ7795-70 | 28 0570-20 | ||||
| 6 | Шайба 16 ОТ ГОСТ6402-70 | - | ||||
| 7 | Втулка | 2501-93-558 | ||||
| 7 | Втулка | 2501-93-558-20 | ||||
| 8 | Кольцо 022-026-25-2-51-1668 ТУ2531-260-00149245-00 | - | ||||
| 9 | Кольцо защитное | 2501-93-561 | ||||
| 10 | Кольцо опорно-направляющее штоковое Е22Т-100-30-3,0 ТУ2290-004-48774662-2002 | - | ||||
| 11 | Шток | 2501-93-591-02 | ||||
| 11 | Шток | 2501-93-591-02-20 | ||||
| 12 | Болт М12x1,25-6gx35 ГОСТ 7796-70 | - | ||||
| 13 | Шайба 12 ОТ ГОСТ6402-70 | - | ||||
| 14 | Скребок | 46-93-527-01 | ||||
| 15 | Грязесъемник 3-d ГОСТ24811-81 | 2501-93-506-03СП(SP) | ||||
| 16 | Болт М16-6gx60 ГОСТ 7798-70 | 28 0558 | ||||
| 16 | Болт М16-6gx60 ГОСТ 7798-70 | 28 0558-20 | ||||
| 17 | Кольцо защитное | 2501-93-508 | ||||
| 18 | Кольцо 210-220-58-2-51-1668 ТУ2531-260-00149245-00 | - | ||||
| 19 | Крышка | 46-93-608 | ||||
| 20 | Корпус | 2501-93-526СП(SP) | ||||
| 21 | Шайба защитная | 2601-26-26-01 | ||||
| 22 | Кольцо 082-090-46-2-51-1668 ТУ2531-260-00149245-00 (взамен поз.23) | - | ||||
| 23 | Кольцо 082-090-46-2-3 ГОСТ18829-73 (взамен поз. 22) | - | ||||
| 24 | Поршень | 2501-93-594 | ||||
| 25 | Кольцо уплотнительное | 2501-93-514-01 | ||||
| 26 | Кольцо 200-210-58-2-51-1668 ТУ2531-260-00149245-00 | - | ||||
| 27 | Втулка опорная (допускается замена на поз.28) | 2501-93-513-01 | ||||
| 28 | Кольцо опорно-направляющее поршневое Е21Т-220-20-4,0 ТУ2290-004-48774662-2002 (допускается замена на поз.27) | - | ||||
| 29 | Гайка | 2501-93-504 | ||||
| 30 | Кольцо 021-027-36-2-51-1668 ТУ2531-260-00149245-00 | - | ||||
| 31 | Штуцер ввертной | Н.036.04.011 | ||||
| 31 | Штуцер ввертной | Н.036.04.011-01 | ||||
| 32 | Кольцо уплотнительное | 2501-93-592 | ||||
| 33 | Кольцо 105-115-58-2-51-1668 ТУ2531-260-00149245-00 | - | ||||
| 34 | Кольцо уплотнительное | 46-93-546 | ||||
| 35 | Подшипник ШСЛ80 ТУ ВНИПП154.99 | 46 4913 3768 01 | ||||
| 36 | Кольцо С125 ГОСТ13941-86 | 58 0818-01 | ||||
| 36 | Кольцо С125 ГОСТ13941-86 | 58 0818-01-20 | ||||
| 37 | Болт М12x1,25-6gx25 ГОСТ 7796-70 | - | ||||
| 38 | Шайба 12x2 ГОСТ11371-78 | 31 0210 | ||||
| 38 | Шайба 12x2 ГОСТ11371-78 | 31 0210-20 | ||||
| 39 | Прокладка | 2501-93-560 | ||||
| 39 | Прокладка | 2501-93-560-20 | ||||
| 40 | Хомут | 2501-93-559 | ||||
| 40 | Хомут | 2501-93-559-20 | ||||
| 41 | Колпачок | 46-21-884 | ||||
| 42 | Прокладка | 700-40-6518 | ||||
| 42 | Прокладка | 700-40-6518-20 | ||||
Обращаем Ваше внимание, что пункты отмеченные звездочкой, обязательны для заполнения.