| ||||||
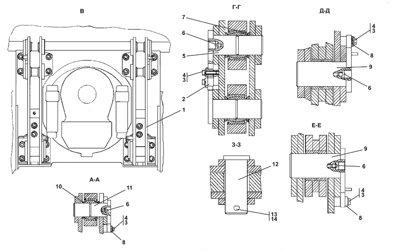
| № п/п | Наименование | Код детали | ||||
| 1 | Кронштейн | 2501-98-40-01СП (SP) | ||||
| 1 | Кронштейн | 2501-98-40-01-20СП | ||||
| 2 | Втулка | 2501-98-11 | ||||
| 2 | Втулка | 2501-98-11-20 | ||||
| 3 | Шайба 16 ОТ ГОСТ6402-70 | - | ||||
| 4 | Болт М16-6gx55 ГОСТ7796-70 | - | ||||
| 5 | Ось | 2501-98-30СП(SP) | ||||
| 6 | Масленка 1.2 ГОСТ19853-74 | - | ||||
| 7 | Кольцо | 2501-98-9 | ||||
| 8 | Планка | 46-98-2 | ||||
| 8 | Планка | 46-98-2-20 | ||||
| 9 | Палец | 2501-98-21СП(SP) | ||||
| 10 | Балка рабочая | 2501-97-300СП(SP) | ||||
| 10 | Балка рабочая | 2501-97-300-20СП(SP) | ||||
| 11 | Палец | 012001-97-30-03СП | ||||
| 12 | Ось | 2501-97-8 | ||||
| 13 | Штифт | 2501-97-9 | ||||
| 14 | Шплинт 4x25 ГОСТ397-79 | - | ||||
Обращаем Ваше внимание, что пункты отмеченные звездочкой, обязательны для заполнения.