| ||||||
| № п/п | Наименование | Код детали | ||||
| 0 | Зуб | 2501-98-180СП(SP) | ||||
| 0 | Зуб | 2501-98-180-20СП(SP) | ||||
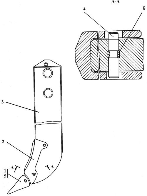
| 1 | Наконечник (допускается замена на поз.5) | 2501-98-190СП(SP) | ||||
| 1 | Наконечник | 2501-98-190-20СП(SP) | ||||
| 2 | Накладка | 2501-98-230СП(SP) | ||||
| 2 | Накладка | 2501-98-230-20СП(SP) | ||||
| 3 | Стойка | 2501-98-181 | ||||
| 3 | Стойка | 2501-98-181-20 | ||||
| 4 | Кольцо | 46-98-185 | ||||
| 4 | Кольцо | 46-98-185-20 | ||||
| 5 | Наконечник (допускается замена на поз.1) | 46-98-187 | ||||
| 5 | Наконечник | 46-98-187-20 | ||||
| 6 | Палец | 46-98-184 | ||||
| 6 | Палец | 46-98-184-20 | ||||
Обращаем Ваше внимание, что пункты отмеченные звездочкой, обязательны для заполнения.