| ||||||
| № п/п | Наименование | Код детали | ||||
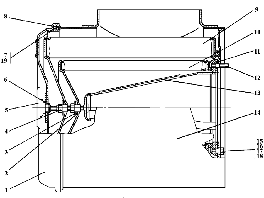
| 0 | Воздухоочиститель | 2504-05-15-01СП(SP) | ||||
| 0 | Воздухоочиститель | 2504-05-15-01-20СП | ||||
| 1 | Крышка | 46-05-351-01СП(SP) | ||||
| 1 | Крышка | 46-05-351-01-20СП(SP) | ||||
| 2 | Прокладка | 40 0222 | ||||
| 2 | Прокладка | 40 0222-20 | ||||
| 3 | Шайба | 46-15-764 | ||||
| 3 | Шайба | 46-15-764-20 | ||||
| 4 | Гайка | 46-05-763 | ||||
| 4 | Гайка | 46-05-763-20 | ||||
| 5 | Ручка | 46-05-366СП(SP) | ||||
| 5 | Ручка | 46-05-366-20СП(SP) | ||||
| 6 | Шайба | 31 5185 | ||||
| 6 | Шайба | 31 5185-20 | ||||
| 7 | Прокладка (допускается замена на поз. 19) | 40 0034-02 | ||||
| 8 | Кант №27 | 46-05-774 | ||||
| 9 | Элемент фильтрующий Т330.110956-02 | - | ||||
| 10 | Элемент фильтрующий Т330.1109560-01 | - | ||||
| 11 | Прокладка | 45 0033 | ||||
| 11 | Прокладка | 45 0033-20 | ||||
| 12 | Шпилька M8x16 ГОСТ 22034-76 | 29 0130 | ||||
| 12 | Шпилька M8x16 ГОСТ 22034-76 | 29 0130-20 | ||||
| 13 | Центратор | 46-05-355СП(SP) | ||||
| 13 | Центратор | 46-05-355-20СП(SP) | ||||
| 14 | Корпус | 2504-05-30СП(SP) | ||||
| 14 | Корпус | 2504-05-30-20СП(SP) | ||||
| 15 | Шпилька M8x32 ГОСТ 22034-76 | 29 0115 | ||||
| 15 | Шпилька M8x32 ГОСТ 22034-76 | 29 0115-20 | ||||
| 16 | Гайка М8 ГОСТ 5915-70 | - | ||||
| 17 | Шайба 8Т ГОСТ 6402-70 | - | ||||
| 18 | Шайба 8 ГОСТ 11371-78 | 31 0150 | ||||
| 18 | Шайба 8 ГОСТ 11371-78 | 31 0150-20 | ||||
| 19 | Прокладка (допускается замена на поз. 7) | 40 0063-02 | ||||
Обращаем Ваше внимание, что пункты отмеченные звездочкой, обязательны для заполнения.