8 (391) 285-35-15
8 (391) 259-62-06
8 (391) 259-62-49
 info@in124.ru
USD: 79,4495EUR: 93,2274
Оборудование бульдозерное полусферическое
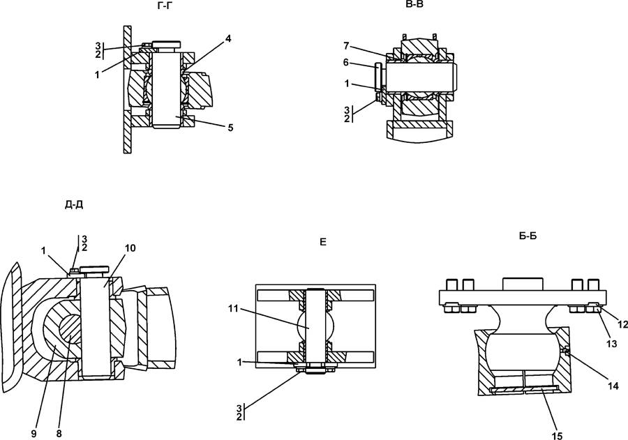
№ п/пНаименованиеКод детали
УХЛ
Т
У
1РигельТМ2501-92-11
8
-
-
1РигельТМ2501-92-11-20
-
8
-
2Шайба 16.ОТ ГОСТ6402-70-
16
16
-
3Болт М16-6gx30 ГОСТ7796-7028 0521
16
-
-
3Болт М16-6gx30 ГОСТ7796-7028 0521-20
-
16
-
4КольцоТМ2501-92-5-01
4
-
-
4КольцоТМ2501-92-5-01-20
-
4
-
5ПалецТМ2501-92-15
2
2
-
6ПалецТМ2501-92-1
2
2
-
7КольцоТМ2501-92-5
4
-
-
7КольцоТМ2501-92-5-20
-
4
-
8ОсьТМ2501-92-2
2
2
-
9КрестовинаТМ2501-92-3
2
-
-
9КрестовинаТМ2501-92-3-20
-
2
-
10ПалецТМ2501-92-1-01
2
2
-
11ПалецТМ2501-92-10
2
2
-
12Шайба31 5435
16
-
-
12Шайба31 5435-20
-
16
-
13БолтТМ2501-92-12
16
-
-
13БолтТМ2501-92-12-20
-
16
-
14Масленка 1,2 ГОСТ19853-74-
2
2
-
15ЗаглушкаТМ2501-92-172
2
2
-

© ООО Инженерные машины, 2016