| ||||||
| № п/п | Наименование | Код детали | ||||
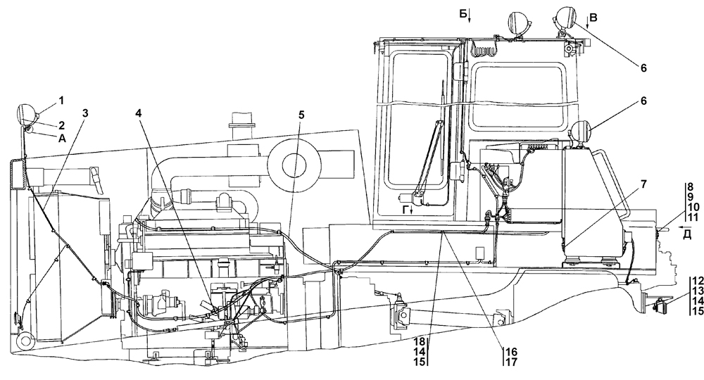
| 0 | Электрооборудование* | 3506-10-1-07СП(SP) | ||||
| 0 | Электрооборудование | 3506-10-1-07-20СП(SP) | ||||
| 0 | Электрооборудование** | 3506-10-1-08СП(SP) | ||||
| 0 | Электрооборудование | 3506-10-1-08-20СП(SP) | ||||
| 1 | Наконечник | 700-40-5607 | ||||
| 2 | Фара 3131.3711.010 | 45 7332 4087 | ||||
| 2 | Фара 3136.3711.010 | 45 7332 4085 | ||||
| 2 | Фара 3137.3711.010 | 45 7332 4086 | ||||
| 3 | Электрооборудование передней облицовки | 2501-10-111-02СП(SP) | ||||
| 3 | Электрооборудование передней облицовки | 3506-10-111-02-10СП | ||||
| 3 | Электрооборудование передней облицовки | 3506-10-111-02-20СП | ||||
| 4 | Установка электрооборудования на раме* | 3506-10-13-02СП(SP) | ||||
| 4 | Установка электрооборудования на раме | 3506-10-13-02-10СП | ||||
| 4 | Установка электрооборудования на раме | 3506-10-13-02-20СП | ||||
| 4 | Установка электрооборудования на раме** | 3506-10-13-02СП(SP) | ||||
| 4 | Установка электрооборудования на раме | 3506-10-13-02-10СП | ||||
| 4 | Установка электрооборудования на раме | 3506-10-13-02-20СП | ||||
| 5 | Электрооборудование пола кабины | 1106-10-18-05СП(SP) | ||||
| 5 | Электрооборудование пола кабины | 1106-10-18-05-10СП | ||||
| 5 | Электрооборудование пола кабины | 1106-10-18-05-20СП | ||||
| 6 | Установка фары | 404-10-270СП(SP) | ||||
| 6 | Установка фары | 404-10-270-10СП(SP) | ||||
| 6 | Установка фары | 404-10-270-20СП(SP) | ||||
| 7 | Электрооборудование топливного бака | 2501-10-107СП(SP) | ||||
| 7 | Электрооборудование топливного бака | 2501-10-107-10СП(SP) | ||||
| 7 | Электрооборудование топливного бака | 2501-10-107-20СП(SP) | ||||
| 8 | Винт В.М6-6gx12 ГОСТ 17473-80 | - | ||||
| 9 | Шайба 6Т ГОСТ 6402-70 | - | ||||
| 10 | Шайба 6 ГОСТ 11371-78 | 31 0110 | ||||
| 10 | Шайба 6 ГОСТ 11371-78 | 31 0110-20 | ||||
| 11 | Световозвращатель ФП310Е-0 ТУ37.003.079-80 | 45 7372 5595 | ||||
| 12 | Установка фары заднего хода | 3501-10-198СП(SP) | ||||
| 12 | Установка фары заднего хода | 3501-10-198-20СП(SP) | ||||
| 13 | Болт М8-6gx35 ГОСТ 7796-70 | - | ||||
| 14 | Шайба 8Т ГОСТ 6402-70 | - | ||||
| 15 | Шайба 8 ГОСТ 11371-78 | 31 0150 | ||||
| 15 | Шайба 8 ГОСТ 11371-78 | 31 0150-20 | ||||
| 16 | Прокладка | 700-40-6684-02 | ||||
| 17 | Хомутик | 700-41-2548 | ||||
| 18 | Болт М8-6gx16 ГОСТ 7796-70 | - | ||||
Обращаем Ваше внимание, что пункты отмеченные звездочкой, обязательны для заполнения.