| ||||||
| № п/п | Наименование | Код детали | ||||
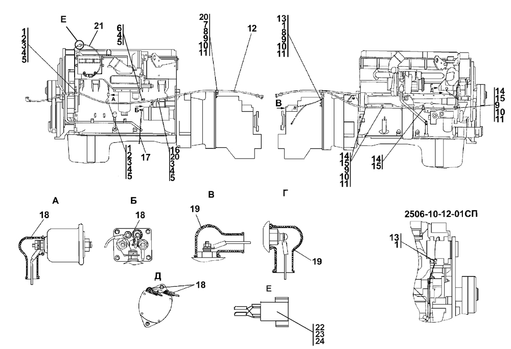
| 0 | Электрооборудование двигателя* | 2506-10-12СП(SP) | ||||
| 0 | Электрооборудование двигателя | 2506-10-12-20СП(SP) | ||||
| 0 | Электрооборудование двигателя** | 2506-10-12-01СП(SP) | ||||
| 0 | Электрооборудование двигателя | 2506-10-12-01-20СП | ||||
| 1 | Прокладка | 700-40-6684-06 | ||||
| 1 | Прокладка | 700-40-6684-06 | ||||
| 2 | Хомутик | 700-40-3188 | ||||
| 3 | Болт М10-6gx20 ГОСТ 7796-70 | - | ||||
| 4 | Шайба 10 ГОСТ 6402-70 | - | ||||
| 5 | Шайба 10 ГОСТ 11371-78 | 31 0170 | ||||
| 5 | Шайба 10 ГОСТ 11371-78 | 31 0170-20 | ||||
| 6 | Гайка М10 ГОСТ 5915-70 | - | ||||
| 7 | Хомутик | 700-40-3179 | ||||
| 8 | Болт М8-6gx20 ГОСТ 7796-70 | - | ||||
| 9 | Гайка М8 ГОСТ 5915-70 | - | ||||
| 10 | Шайба 8Т ГОСТ 6402-70 | - | ||||
| 11 | Шайба 8 ГОСТ 11371-78 | 31 0150 | ||||
| 11 | Шайба 8 ГОСТ 11371-78 | 31 0150-20 | ||||
| 12 | Жгут* | 2506-10-105СП(SP) | ||||
| 12 | Жгут | 2506-10-105-20СП(SP) | ||||
| 12 | Жгут** | 2506-10-105-01СП(SP) | ||||
| 12 | Жгут | 2506-10-105-01-20СП | ||||
| 13 | Хомутик | 41 5119 | ||||
| 13 | Хомутик | 41 5119 | ||||
| 14 | Прокладка | 700-40-6684-05 | ||||
| 15 | Хомутик | 700-41-2866 | ||||
| 16 | Хомутик | 41 5204 | ||||
| 17 | Провод | 401-10-111СП(SP) | ||||
| 17 | Провод | 401-10-111-20СП(SP) | ||||
| 18 | Наконечник | 700-40-5607 | ||||
| 19 | Наконечник | 700-40-5606 | ||||
| 20 | Прокладка | 700-40-6684-04 | ||||
| 21 | Жгут | 2506-10-108СП(SP) | ||||
| 21 | Жгут | 2506-10-108-20СП(SP) | ||||
| 22 | Штырь 103612 | 45 7373 8004 09 | ||||
| 23 | Колодка штыревая 502 604 | 45 7373 9008 | ||||
| 24 | Трубка белая 305 ТВ-40,3 | - | ||||
| 24 | Трубка белая 305 ТВ-40Т,3 | - | ||||
Обращаем Ваше внимание, что пункты отмеченные звездочкой, обязательны для заполнения.