| ||||||
| № п/п | Наименование | Код детали | ||||
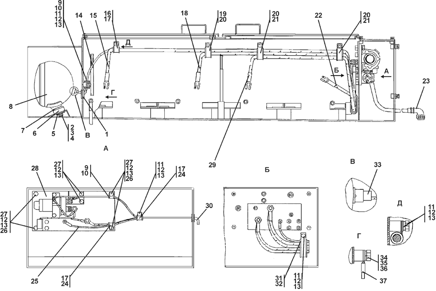
| 0 | Установка электрооборудования в контейнере АКБ | 2501-10-5-02СП(SP) | ||||
| 0 | Установка электрооборудования в контейнере АКБ | 2501-10-5-02-20СП | ||||
| 1 | Кольцо | 700-40-6695 | ||||
| 2 | Гайка М12x1,25 ГОСТ 5915-70 | - | ||||
| 3 | Шайба 12 ОТ ГОСТ 6402-70 | - | ||||
| 4 | Шайба 12x2 ГОСТ11371-78 | 31 0210 | ||||
| 4 | Шайба 12x2 ГОСТ11371-78 | 31 0210-20 | ||||
| 5 | Опора | 46-10-85 | ||||
| 5 | Опора | 46-10-85-20 | ||||
| 6 | Опора | 40-10-86 | ||||
| 6 | Опора | 46-10-86-20 | ||||
| 7 | Опора | 700-40-6018 | ||||
| 8 | Фара 3131.3711 010 | 45 7332 4087 02 | ||||
| 8 | Фара 3136.3711 010 | 45 7332 4085 04 | ||||
| 8 | Фара 3137.3711 010 | 45 7332 4086 03 | ||||
| 9 | Хомутик | 41 5045 | ||||
| 10 | Прокладка | 700-40-6684-08 | ||||
| 11 | Болт М8-6gx16 ГОСТ 7796-70 | - | ||||
| 12 | Шайба 8Т ГОСТ 6402-70 | - | ||||
| 13 | Шайба 8 ГОСТ 11371-78 | 31 0150 | ||||
| 13 | Шайба 8 ГОСТ 11371-78 | 31 0150-20 | ||||
| 14 | Провод | 2501-10-129-30СП(SP) | ||||
| 14 | Провод | 2501-10-129-30-20СП | ||||
| 15 | Провод | 1106-10-155-15СП(SP) | ||||
| 16 | Прокладка | 700-40-6684-05 | ||||
| 17 | Хомутик | 700-41-2866 | ||||
| 18 | Провод | 1106-10-155-06СП(SP) | ||||
| 19 | Хомутик | 58-41-2006-03 | ||||
| 20 | Прокладка | 700-40-6684-02 | ||||
| 21 | Хомутик | 700-41-3187 | ||||
| 22 | Провод | 1106-10-155-02СП(SP) | ||||
| 23 | Жгут | 2501-10-173-02СП(SP) | ||||
| 23 | Жгут | 2501-10-173-02-20СП | ||||
| 24 | Прокладка | 700-40-6684-04 | ||||
| 25 | Провод | 312505-10-116СП(SP) | ||||
| 25 | Провод | 312502-10-116-20СП | ||||
| 26 | Гайка М8 ГОСТ 5915-70 | - | ||||
| 27 | Болт М8-6gx25 ГОСТ 7796-70 | - | ||||
| 28 | Панель | 2501-10-171-01СП(SP) | ||||
| 28 | Панель | 2501-10-171-01-10СП | ||||
| 28 | Панель | 2501-10-171-01-20СП | ||||
| 29 | Провод | 1106-10-155-14СП(SP) | ||||
| 30 | Кольцо | 700-40-6682 | ||||
| 31 | Прокладка | 700-40-6684-01 | ||||
| 32 | Хомутик | 700-41-3185 | ||||
| 33 | Колодка гнездовая 602602 ОСТ 37.003.032-88 | 45 7373 9003 06 | ||||
| 34 | Болт М12x1,25-6gx20 ГОСТ 7796-70 | 28 0320 | ||||
| 34 | Болт М12x1,25-6gx20 ГОСТ 7796-70 | 28 0320-20 | ||||
| 35 | Шайба 12 ОТ ГОСТ 6402-70 | - | ||||
| 36 | Шайба 12x2 ГОСТ11371-78 | 31 0210 | ||||
| 36 | Шайба 12x2 ГОСТ11371-78 | 31 0210-20 | ||||
| 37 | Провод | 2702-10-167-01СП(SP) | ||||
| 37 | Провод | 2702-10-167-01-20СП | ||||
Обращаем Ваше внимание, что пункты отмеченные звездочкой, обязательны для заполнения.