| ||||||
| № п/п | Наименование | Код детали | ||||
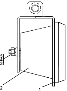
| 0 | Установка фары заднего хода | 3501-10-198СП(SP) | ||||
| 0 | Установка фары заднего хода | 3501-10-198-20СП(SP) | ||||
| 1 | Кронштейн | 3501-10-199СП(SP) | ||||
| 1 | Кронштейн | 3501-10-199-20СП(SP) | ||||
| 2 | Фара заднего хода 2112.3711-01 ТУ37.003.675-82 | 45 7332 1481 | ||||
| 3 | Шайба 6 ГОСТ 11371-78 | 31 0110 | ||||
| 3 | Шайба 6 ГОСТ 11371-78 | 31 0110-20 | ||||
| 4 | Шайба 6Т ГОСТ 6402-70 | - | ||||
| 5 | Гайка М6 ГОСТ 5915-70 | - | ||||
Обращаем Ваше внимание, что пункты отмеченные звездочкой, обязательны для заполнения.