| ||||||
| № п/п | Наименование | Код детали | ||||
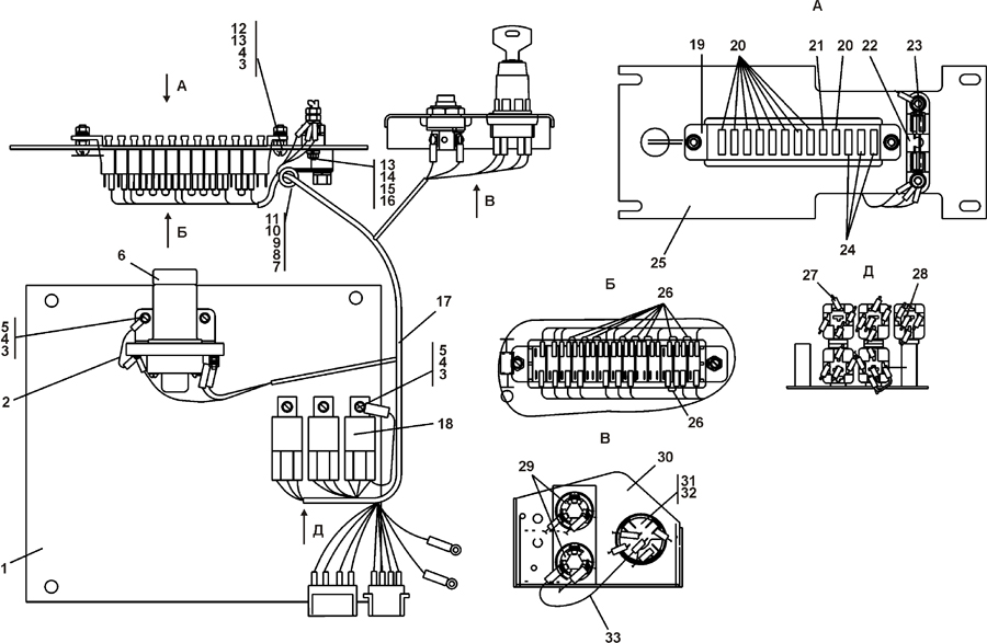
| 0 | Блок выключателей | 1106-10-140СП(SP) | ||||
| 0 | Блок выключателей | 1106-10-140-20СП(SP) | ||||
| 1 | Плата | 1102-10-149-01СП(SP) | ||||
| 1 | Плата | 1102-10-149-01-20СП | ||||
| 2 | Провод | 312001-10-109-05СП | ||||
| 2 | Провод | 312001-10-109-05-20СП | ||||
| 3 | Шайба 6 ГОСТ 11371-78 | 31 0110 | ||||
| 4 | Шайба 6Т ГОСТ 6402-70 | - | ||||
| 5 | Винт В.М6-6gx12 ГОСТ 17473-80 | - | ||||
| 6 | Контактор КТ127-УХЛ | - | ||||
| 6 | Контактор КТ 127-Э | - | ||||
| 6 | Контактор КТ 127-Т | - | ||||
| 7 | Шайба 8 ГОСТ 11371-78 | 31 0150-20 | ||||
| 8 | Шайба 8Т ГОСТ 6402-70 | - | ||||
| 9 | Болт М8-6gx16 ГОСТ 7796-70 | - | ||||
| 10 | Хомутик | 700-41-3307 | ||||
| 11 | Прокладка | 700-40-6684-03 | ||||
| 12 | Винт В.М6-6gx22 ГОСТ 17473-80 | - | ||||
| 13 | Гайка М6 ГОСТ 5915-70 | - | ||||
| 14 | Гайка М4 ГОСТ 5927-70 | - | ||||
| 15 | Шайба 4 ГОСТ 6402-70 | - | ||||
| 16 | Винт В.М4-6gx16 ГОСТ 17473-80 | - | ||||
| 17 | Жгут | 1106-10-141СП(SP) | ||||
| 17 | Жгут | 1106-10-141-20СП(SP) | ||||
| 18 | Реле 901.3747 ТУ37.003.1418 | - | ||||
| 19 | Блок предохранителей 41.3722.00-09 ТУ 37.469.027-98 | - | ||||
| 20 | Предохранитель 10А 352.3722 | - | ||||
| 21 | Предохранитель 20А 354.3722 | - | ||||
| 22 | Блок защиты ТУ16-522-001-82 БЗ-30, УХЛЗ, 30В | - | ||||
| 23 | Предохранитель ПВ-100АС, УХЛ3, 30В | - | ||||
| 23 | Предохранитель ПВ-100АС, УХЛ3, 30В, экспорт | - | ||||
| 24 | Предохранители 30А 356.3722 ТУ37.469.013-95 | - | ||||
| 25 | Панель | 1102-10-111-01СП(SP) | ||||
| 25 | Панель | 1102-10-111-01-20СП | ||||
| 26 | Провод | 1102-10-175СП(SP) | ||||
| 26 | Провод | 1102-10-175-20СП(SP) | ||||
| 27 | Провод | 2501-10-129-33СП(SP) | ||||
| 27 | Провод | 2501-10-129-33-20СП | ||||
| 28 | Провод | 1102-10-153-02СП(SP) | ||||
| 28 | Провод | 1102-10-153-02-20СП | ||||
| 29 | Выключатель кнопочный 11.3704.000-01 ТУ37.003.710-80 | - | ||||
| 30 | Панель | 1102-10-114СП(SP) | ||||
| 30 | Панель | 1102-10-114-20СП(SP) | ||||
| 31 | Выключатель ВК 353 | - | ||||
| 31 | Выключатель ВК 353Э | - | ||||
| 31 | Выключатель ВК 353Т | - | ||||
| 32 | Гайка 157.000 | - | ||||
| 33 | Провод | 1102-10-175-02СП(SP) | ||||
| 33 | Провод | 1102-10-175-02-20СП | ||||
Обращаем Ваше внимание, что пункты отмеченные звездочкой, обязательны для заполнения.