8 (391) 285-35-15
8 (391) 259-62-06
8 (391) 259-62-49
 info@in124.ru
USD: 79,4495EUR: 93,2274
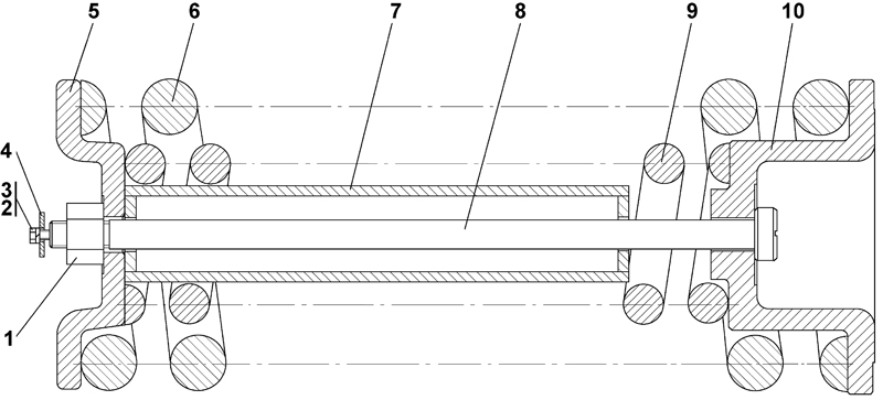
Механизм сдавания (допускается замена на 2501-21-45СП)
№ п/пНаименованиеКод детали
УХЛ
Т
У
0Механизм сдавания2501-21-16СП(SP)
1
-
1
0Механизм сдавания2501-21-16-20СП(SP)
-
1
-
1Гайка30 5486
1
-
1
1Гайка30 5486-20
-
1
-
2Шайба 16 ГОСТ 11371-7831 0270
1
-
1
2Шайба 16 ГОСТ 11371-7831 0270-20
-
1
-
3Болт М16x1,5-6gx35 ГОСТ 7796-70-
1
1
1
4Шайба31 5256
1
-
1
4Шайба31 5256-20
-
1
-
5Фланец3501-21-67
1
-
1
5Фланец3501-21-67-20
-
1
-
6Пружина2501-21-132
1
1
1
7Труба2501-21-43СП(SP)
1
-
1
7Труба2501-21-43-20СП(SP)
-
1
-
8Стяжка2501-21-405
1
-
-
8Стяжка2501-21-405-10
-
1
1
9Пружина2501-21-133
1
1
1
10Фланец2501-21-51
1
-
1
10Фланец2501-21-51-20
-
1
-

© ООО Инженерные машины, 2016