| ||||||
| № п/п | Наименование | Код детали | ||||
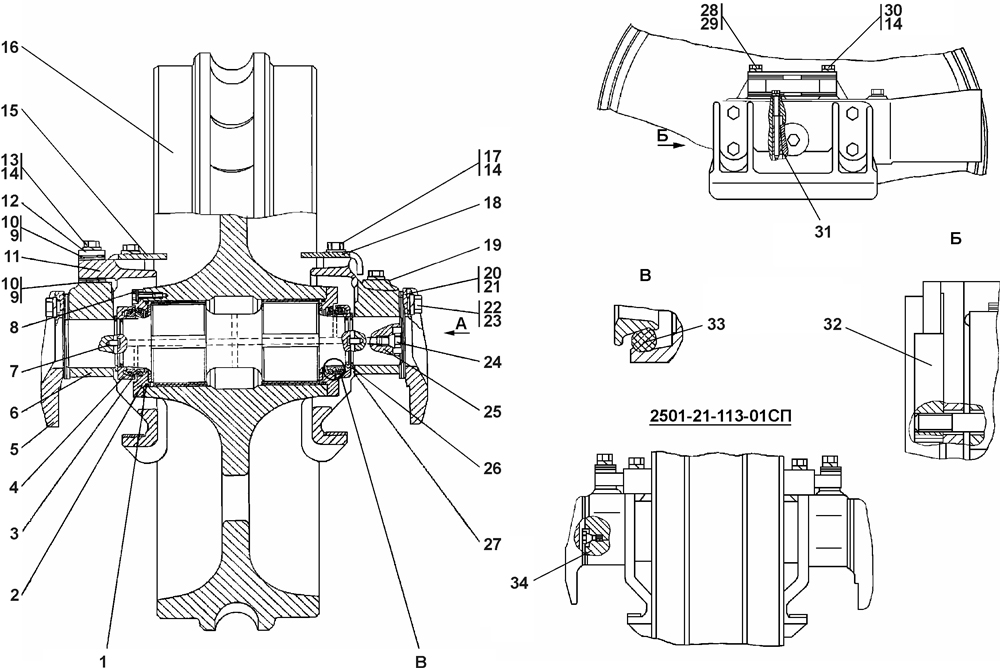
| 0 | Колесо натяжное* | 2501-21-113СП(SP) | ||||
| 0 | Колесо натяжное | 2501-21-113-20СП(SP) | ||||
| 0 | Колесо натяжное** | 2501-21-113-01СП | ||||
| 0 | Колесо натяжное | 2501-21-113-01-20СП | ||||
| 1 | Кольцо 130-135-36-2-51-1668 ТУ 2531-260-00149245-00 | - | ||||
| 2 | Фланец | 2501-21-75СП(SP) | ||||
| 3 | Кольцо уплотнительное | 2501-21-142 | ||||
| 4 | Крышка | 2501-21-366 | ||||
| 5 | Крышка | 2501-21-111 | ||||
| 5 | Крышка | 2501-21-111-20 | ||||
| 6 | Ползун | 2501-21-115 | ||||
| 6 | Ползун | 2501-21-115-20 | ||||
| 7 | Штифт | 32 5335 | ||||
| 7 | Штифт | 32 5335-20 | ||||
| 8 | Болт | 2501-21-411 | ||||
| 8 | Болт | 2501-21-411-20 | ||||
| 9 | Прокладка | 2501-21-131 | ||||
| 10 | Прокладка | 2501-21-131-01 | ||||
| 11 | Захват | 2501-21-65СП(SP) | ||||
| 11 | Захват | 2501-21-65-20СП(SP) | ||||
| 12 | Планка | 2501-21-128 | ||||
| 12 | Планка | 2501-21-128-20 | ||||
| 13 | Болт | 28 5582 | ||||
| 13 | Болт | 28 5582-20 | ||||
| 14 | Шайба 16 ОТ ГОСТ 6402-70 | - | ||||
| 15 | Щиток | 2501-21-129 | ||||
| 15 | Щиток | 2501-21-129-20 | ||||
| 16 | Колесо натяжное | 2501-21-114СП(SP) | ||||
| 16 | Колесо натяжное | 2501-21-114-20СП(SP) | ||||
| 17 | Болт М16x1,5-6gx38 ГОСТ 7796-70 | 28 0535 | ||||
| 17 | Болт М16x1,5-6gx38 ГОСТ 7796-70 | 28 0535-20 | ||||
| 18 | Щиток | 2501-21-129-01 | ||||
| 18 | Щиток | 2501-21-129-01-20 | ||||
| 19 | Ползун | 2501-21-114 | ||||
| 19 | Ползун | 2501-21-114-20 | ||||
| 20 | Прокладка | 2501-21-130 | ||||
| 21 | Прокладка | 2501-21-130-01 | ||||
| 22 | Болт | 28 5786 | ||||
| 22 | Болт | 28 5786-20 | ||||
| 23 | Шайба 20 ОТ ГОСТ 6402-70 | - | ||||
| 24 | Пробка | 37 5509 | ||||
| 24 | Пробка | 37 5509-20 | ||||
| 25 | Ось* | 2501-21-417 | ||||
| 26 | Кольцо | 58 5650 | ||||
| 27 | Кольцо 069-075-36-2-51-1668 ТУ 2531-260-00149245-00 | - | ||||
| 28 | Болт М12x1,25-6gx140 ГОСТ 7796-70 | 28 0390 | ||||
| 28 | Болт М12x1,25-6gx140 ГОСТ 7796-70 | 28 0390-20 | ||||
| 29 | Шайба 12 ОТ ГОСТ 6402-70 | - | ||||
| 30 | Болт М16x1,5-6gx85 ГОСТ 7796-70 | 28 0566 | ||||
| 30 | Болт М16x1,5-6gx85 ГОСТ 7796-70 | 28 0566-20 | ||||
| 31 | Клин | 403-21-128 | ||||
| 32 | Планка | 2501-21-134 | ||||
| 33 | Кольцо упругое | 40 0212 | ||||
| 34 | Ось** | 2501-21-418 | ||||
Обращаем Ваше внимание, что пункты отмеченные звездочкой, обязательны для заполнения.