| ||||||
| № п/п | Наименование | Код детали | ||||
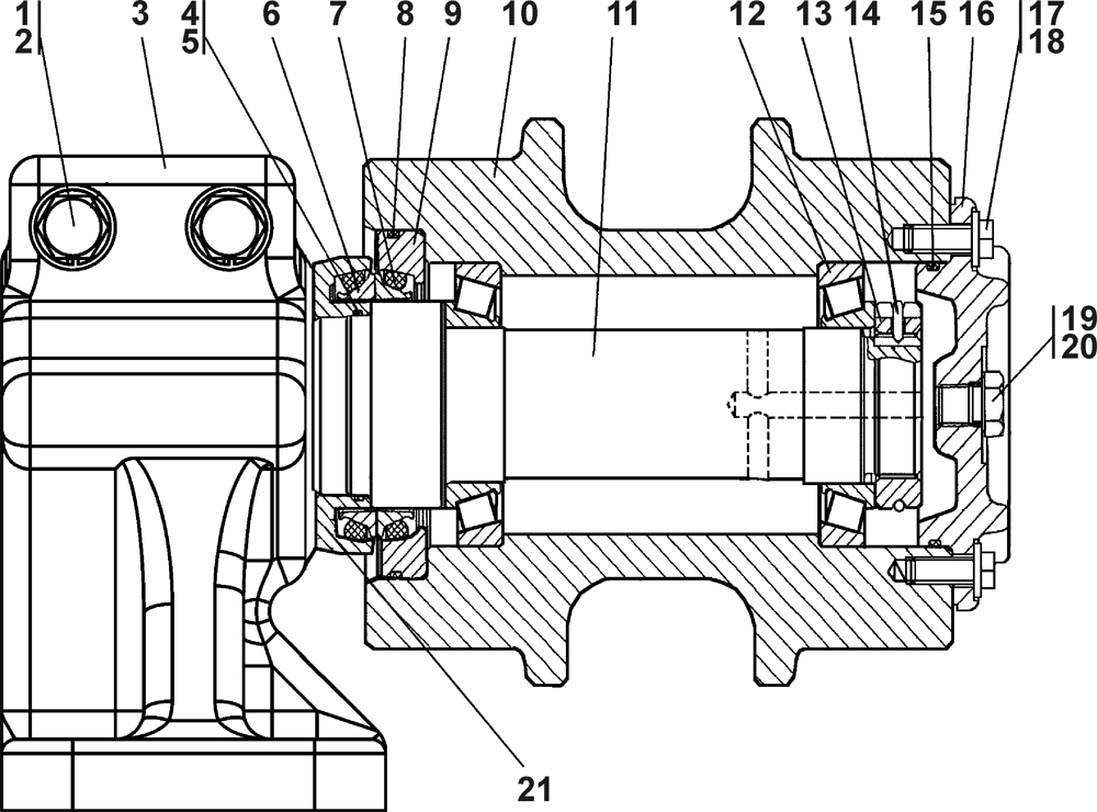
| 0 | Каток поддерживающий | 2501-21-115СП(SP) | ||||
| 0 | Каток поддерживающий | 2501-21-115-20СП(SP) | ||||
| 1 | Болт М16x1,5-6gx85 ГОСТ 7796-70 | 28 0566 | ||||
| 1 | Болт М16x1,5-6gx85 ГОСТ 7796-70 | 28 0566-20 | ||||
| 2 | Шайба 16 ОТ ГОСТ 6402-70 | - | ||||
| 3 | Опора | 2501-21-122 | ||||
| 4 | Каток поддерживающий (состоит из узлов и деталей поз.4-21) | 2501-21-215СП(SP) | ||||
| 4 | Каток поддерживающий | 2501-21-215-20СП(SP) | ||||
| 4 | Кольцо 070-075-25-2-3 ГОСТ 18829-73/ТУ 38.005204-84 (допускается замена на поз.5) | - | ||||
| 5 | Кольцо 070-075-25-2-51-1668 ТУ 2531-260-00149245-2000 (допускается замена на поз.4) | - | ||||
| 6 | Кольцо уплотнительное | 2501-21-142 | ||||
| 7 | Кольцо упругое | 40 0212 | ||||
| 8 | Кольцо 130-135-36-2-51-1668 ТУ 2531-260-00149245-2000 | - | ||||
| 9 | Корпус уплотнения | 2501-21-120 | ||||
| 10 | Каток | 2501-21-315СП(SP) | ||||
| 10 | Каток | 2501-21-315-20СП(SP) | ||||
| 11 | Ось | 2501-21-602 | ||||
| 12 | Подшипник 7212А ТУ 37.006.162-89 | - | ||||
| 13 | Гайка | 2501-21-124 | ||||
| 14 | Кольцо стопорное | 2501-21-125 | ||||
| 15 | Кольцо 104-110-36-2-51-1668 ТУ 2531-260-00149245-2000 | - | ||||
| 16 | Крышка | 2501-21-603 | ||||
| 17 | Шайба | 31 5186 | ||||
| 17 | Шайба | 31 5186-20 | ||||
| 18 | Болт М10-6gx30 ГОСТ 7796-70 | - | ||||
| 19 | Пробка | 37 5515 | ||||
| 19 | Пробка | 37 5515-20 | ||||
| 20 | Кольцо 012-016-25-2-51-1668 ТУ 2531-260-00149245-2000 | - | ||||
| 21 | Крышка | Т25-21-309 | ||||
Обращаем Ваше внимание, что пункты отмеченные звездочкой, обязательны для заполнения.