8 (391) 285-35-15
8 (391) 259-62-06
8 (391) 259-62-49
 info@in124.ru
USD: 79,4495EUR: 93,2274
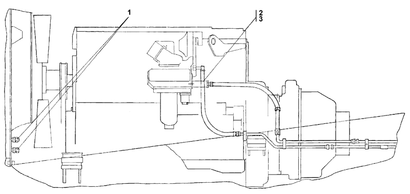
Установка топливного бака
№ п/пНаименованиеКод детали
УХЛ
Т
У
1Заглушка**2501-26-294-01
2
2
-
2Рукав d12**404-26-213-11СП(SP)
1
-
-
2Рукав d12404-26-213-11-20СП
-
1
-
3Кольцо 012-016-25-2-51-1668 ТУ 2531-260-0014-9245-00-
11
11
-

© ООО Инженерные машины, 2016