| ||||||
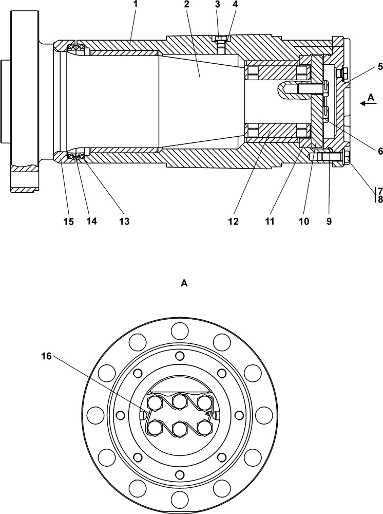
| № п/п | Наименование | Код детали | ||||
| 0 | Шарнир | 2501-21-190СП(SP) | ||||
| 0 | Шарнир | 2501-21-190-20СП(SP) | ||||
| 1 | Корпус | 2501-21-290СП(SP) | ||||
| 2 | Ось | 2501-21-600 | ||||
| 3 | Пробка | 37 5515 | ||||
| 3 | Пробка | 37 5515-20 | ||||
| 4 | Прокладка | 700-40-260-11 | ||||
| 5 | Крышка | 2501-21-192 | ||||
| 6 | Болт | 28 0726 | ||||
| 7 | Шайба | 31 5271 | ||||
| 7 | Шайба | 31 5271-20 | ||||
| 8 | Болт М16x1,5-6gx45 ГОСТ 7796-70 | 28 0544 | ||||
| 8 | Болт М16x1,5-6gx45 ГОСТ 7796-70 | 28 0544-20 | ||||
| 9 | Кольцо 205-210-36-2-51-1668 ТУ 2531-260-00149245-00 | - | ||||
| 10 | Фланец | ТМ2501-21-47 | ||||
| 11 | Кольцо | 2501-21-196 | ||||
| 12 | Вкладыш | ТМ2501-21-46 | ||||
| 13 | Кольцо упругое | 40 0323 | ||||
| 14 | Кольцо уплотнительное | 2501-21-198 | ||||
| 15 | Корпус уплотнения | 2501-21-193 | ||||
| 16 | Проволока КС 1,6 ГОСТ 792-67 | - | ||||
Обращаем Ваше внимание, что пункты отмеченные звездочкой, обязательны для заполнения.