| ||||||
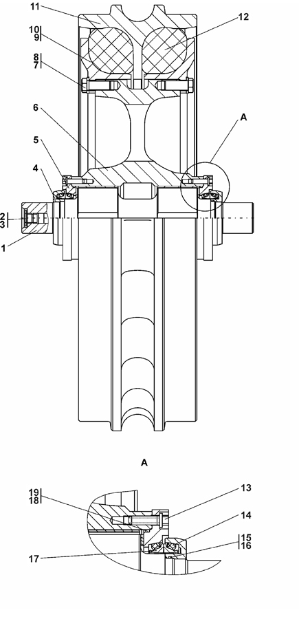
| № п/п | Наименование | Код детали | ||||
| 0 | Колесо натяжное | 2501-21-160СП(SP) | ||||
| 0 | Колесо натяжное | 2501-21-160-20СП(SP) | ||||
| 1 | Ось | 2501-21-608 | ||||
| 2 | Кольцо 012-016-25-2-51-1668 ТУ 2531-260-00149245-00 | - | ||||
| 3 | Пробка | 37 5515 | ||||
| 3 | Пробка | 37 5515-20 | ||||
| 4 | Крышка | Т25-21-309 | ||||
| 5 | Фланец | 2501-21-75СП(SP) | ||||
| 6 | Ступица | ТМ 2501-21-39СП(SP) | ||||
| 6 | Ступица | ТМ 2501-21-39-20СП | ||||
| 7 | Болт М20x1,5-6gx50 ГОСТ 7796-70 | 28 0725 | ||||
| 7 | Болт М20x1,5-6gx50 ГОСТ 7796-70 | 28 0725-20 | ||||
| 8 | Шайба | 31 5317 | ||||
| 8 | Шайба | 31 5317-20 | ||||
| 9 | Упор (допускается замена на поз.10) | ТМ 2501-21-34 | ||||
| 9 | Упор | ТМ 2501-21-34-20 | ||||
| 10 | Упор (допускается замена на поз.9) | 2501-21-161СП(SP) | ||||
| 10 | Упор | 2501-21-161-20СП(SP) | ||||
| 11 | Обод | ТМ 2501-21-33 | ||||
| 11 | Обод | ТМ 2501-21-33-20 | ||||
| 12 | Сектор упругий | 40 0404 | ||||
| 13 | Болт | 2501-21-411 | ||||
| 13 | Болт | 2501-21-411-20 | ||||
| 14 | Кольцо упругое | 40 0212 | ||||
| 15 | Кольцо 070-075-25-2-3 ГОСТ 18829-73/ТУ 38.005204-84 (допускается замена на поз.16) | - | ||||
| 16 | Кольцо 070-075-25-2-51-1668 ТУ 2531-260-00149245-00 (допускается замена на поз.15) | - | ||||
| 17 | Кольцо уплотнительное | 2501-21-142 | ||||
| 18 | Кольцо 130-135-36-2-51-1668 ТУ 2531-260-00149245-00 (допускается замена на поз.19) | - | ||||
| 19 | Кольцо 130-135-36-2-3 ГОСТ 18829-73/ТУ 38.005204-84 (допускается замена на поз.18) | - | ||||
Обращаем Ваше внимание, что пункты отмеченные звездочкой, обязательны для заполнения.