| ||||||
| № п/п | Наименование | Код детали | ||||
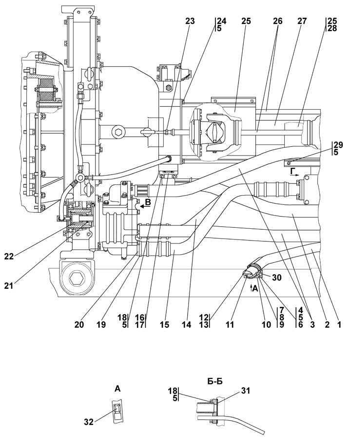
| 0 | Установка трансмиссии | 2501-16-1-03СП(SP) | ||||
| 0 | Установка трансмиссии | 2501-16-1-03-20СП(SP) | ||||
| 1 | Горловина | 2501-15-122СП(SP) | ||||
| 1 | Горловина | 2501-15-122-20СП(SP) | ||||
| 2 | Рукав | 2501-16-105-03СП(SP) | ||||
| 2 | Рукав | 2501-16-105-03-20СП | ||||
| 3 | Рукав d25 | 404-26-118-08СП(SP) | ||||
| 3 | Рукав d25 | 404-26-118-08-20СП | ||||
| 4 | Болт М12x1,25-6gx30 ГОСТ 7796-70 | - | ||||
| 5 | Шайба 12 ОТ ГОСТ 6402-70 | - | ||||
| 6 | Шайба 12x2 ГОСТ 11371-78 | 310210 | ||||
| 6 | Шайба 12x2 ГОСТ 11371-78 | 310210-20 | ||||
| 7 | Хомут | 2501-15-107 | ||||
| 7 | Хомут | 2501-15-107-20 | ||||
| 8 | Гайка М8 ГОСТ 5915-70 | - | ||||
| 9 | Шайба 8 ГОСТ 6958-78 | 310140 | ||||
| 9 | Шайба 8 ГОСТ 6958-78 | 310140-20 | ||||
| 10 | Пластина ГОСТ 7338-90 | 2501-12-170 | ||||
| 11 | Пробка | 2501-15-124СП(SP) | ||||
| 11 | Пробка | 2501-15-124-20СП(SP) | ||||
| 12 | Линейка | 3501-16-102-02СП(SP) | ||||
| 13 | Прокладка | 700-40-6575 | ||||
| 14 | Труба | 2501-15-101-09 | ||||
| 14 | Труба | 2501-15-101-09-20 | ||||
| 15 | Труба | 2501-15-101-08 | ||||
| 15 | Труба | 2501-15-101-08-20 | ||||
| 16 | Фланец | 2501-12-154 | ||||
| 16 | Фланец | 2501-12-154-20 | ||||
| 17 | Кольцо 049-055-36-2-51-1668 ТУ 2531-260-00149245-00 | - | ||||
| 18 | Болт М12-6gx35 ГОСТ 7796-70 | - | ||||
| 19 | Шланговый хомут DIN3017-AS50-70/12C7-W2 | - | ||||
| 20 | Рукав | 461501-04 | ||||
| 20 | Рукав | 461501-04-20 | ||||
| 21 | Кольцо С35 ГОСТ13940-86 | 580309 | ||||
| 22 | Муфта | 2501-15-103 | ||||
| 23 | Шланговый хомут DIN3017-АS20-32/12C7-W2 | - | ||||
| 24 | Болт М12-6gx30 ГОСТ 7796-70 | - | ||||
| 25 | Кожух | 2501-12-113СП(SP) | ||||
| 25 | Кожух | 2501-12-113-20СП(SP) | ||||
| 26 | Рукав | 46 0601-28 | ||||
| 26 | Рукав | 46 0601-28-20 | ||||
| 27 | Вал карданный 81-4250010-40 | - | ||||
| 28 | Кожух | 2501-12-114СП(SP) | ||||
| 28 | Кожух | 2501-12-114-20СП(SP) | ||||
| 29 | Болт М12x1,25-6gx25 ГОСТ 7796-70 | - | ||||
| 30 | Кронштейн | 2501-16-6 | ||||
| 30 | Кронштейн | 2501-16-6-20 | ||||
| 31 | Прокладка | 45 0310 | ||||
| 31 | Прокладка | 45 0310-20 | ||||
| 32 | Сапун | 46-14-141СП(SP) | ||||
| 32 | Сапун | 46-14-141-20СП(SP) | ||||
Обращаем Ваше внимание, что пункты отмеченные звездочкой, обязательны для заполнения.