| ||||||
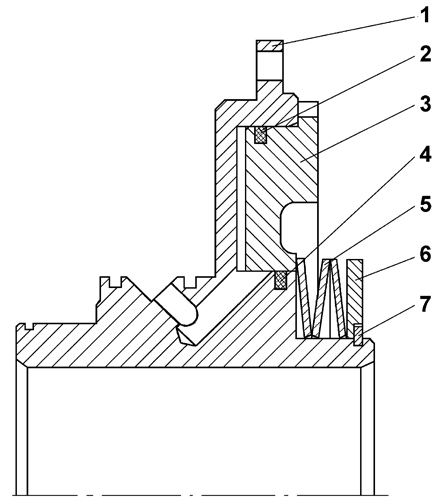
| № п/п | Наименование | Код детали | ||||
| 0 | Бустер | 2501-12-120СП(SP) | ||||
| 1 | Корпус | 2501-12-212 | ||||
| 2 | Кольцо | 2501-12-181-04 | ||||
| 3 | Поршень | 2501-12-213 | ||||
| 4 | Кольцо | 2501-12-181 | ||||
| 5 | Тарелка | 2501-12-71 | ||||
| 6 | Кольцо | 2501-12-72 | ||||
| 7 | Кольцо | 2501-12-77 | ||||
Обращаем Ваше внимание, что пункты отмеченные звездочкой, обязательны для заполнения.