| ||||||
| № п/п | Наименование | Код детали | ||||
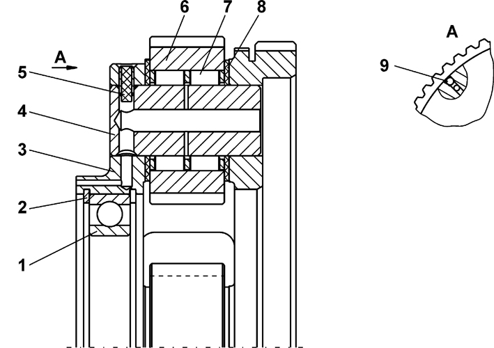
| 0 | Водило | 2501-12-121СП(SP) | ||||
| 1 | Подшипник 1000924Д ГОСТ 8338-75 | - | ||||
| 2 | Кольцо С165 ГОСТ 13941-86 | 58 0865 | ||||
| 3 | Водило | 2501-12-48 | ||||
| 4 | Ось | 2501-12-68 | ||||
| 5 | Штифт | 2001-12-111СП(SP) | ||||
| 6 | Сателлит | 2501-12-66 | ||||
| 8 | Кольцо упорное | 2501-12-160 | ||||
| 7 | Подшипник 6-252908Д | - | ||||
| 9 | Шарик Б8-100 ГОСТ 3722-81 | - | ||||
Обращаем Ваше внимание, что пункты отмеченные звездочкой, обязательны для заполнения.