| ||||||
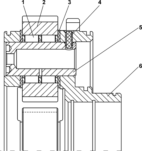
| № п/п | Наименование | Код детали | ||||
| 0 | Водило | 2501-12-123СП(SP) | ||||
| 1 | Подшипник 6-252908Д | - | ||||
| 2 | Сателлит | 2501-12-67 | ||||
| 3 | Кольцо упорное | 2501-12-160 | ||||
| 4 | Штифт | 2001-12-111СП(SP) | ||||
| 5 | Ось | 2501-12-70 | ||||
| 6 | Водило | 2501-12-50 | ||||
Обращаем Ваше внимание, что пункты отмеченные звездочкой, обязательны для заполнения.