| ||||||
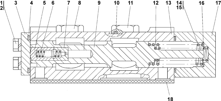
| № п/п | Наименование | Код детали | ||||
| 0 | Клапан | 2501-15-22СП(SP) | ||||
| 0 | Клапан | 2501-15-22-20СП(SP) | ||||
| 1 | Болт М8-6gx20 ГОСТ 7796-70 | - | ||||
| 2 | Шайба 8Т ГОСТ 6402-70 | - | ||||
| 3 | Крышка | 2501-15-49 | ||||
| 4 | Кольцо 032-038-36-2-51-1668 ТУ 2531-260-00149245-00 | - | ||||
| 5 | Поршень | 2501-15-136 | ||||
| 6 | Пружина | 38 5048-01 | ||||
| 7 | Клапан | 2501-15-29 | ||||
| 8 | Пробка | 37 5625 | ||||
| 8 | Пробка | 37 5625-20 | ||||
| 9 | Золотник | 2501-15-227 | ||||
| 10 | Кольцо 018-022-25-2-51-1668 ТУ 2531-260-00149245-00 | - | ||||
| 11 | Пробка | 37 5331 | ||||
| 11 | Пробка | 37 5331-20 | ||||
| 12 | Пружина | 38 5277-01 | ||||
| 13 | Корпус | 2501-15-130 | ||||
| 14 | Пружина | 38 5578-01 | ||||
| 15 | Кольцо | 2601-15-26 | ||||
| 16 | Кольцо | 2601-15-26-01 | ||||
| 17 | Крышка | 2501-15-224 | ||||
| 18 | Заглушка* | 2501-15-220 | ||||
Обращаем Ваше внимание, что пункты отмеченные звездочкой, обязательны для заполнения.