| ||||||
| № п/п | Наименование | Код детали | ||||
| 0 | Клапан | 1101-16-112СП(SP) | ||||
| 0 | Клапан | 1101-16-112-20СП(SP) | ||||
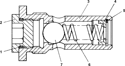
| 1 | Кольцо 026-032-36-2-51-1668 ТУ2531-260-00149245-00 | - | ||||
| 2 | Пробка | 37 5920 | ||||
| 2 | Пробка | 37 5920-20 | ||||
| 3 | Корпус | 1101-16-32 | ||||
| 4 | Втулка | 1101-16-33 | ||||
| 5 | Кольцо С26 ГОСТ 13941-86 | - | ||||
| 6 | Пружина | 38 5479 | ||||
| 7 | Шарик Б22,225-200 ГОСТ 3722-81 | - | ||||
Обращаем Ваше внимание, что пункты отмеченные звездочкой, обязательны для заполнения.