| ||||||
| № п/п | Наименование | Код детали | ||||
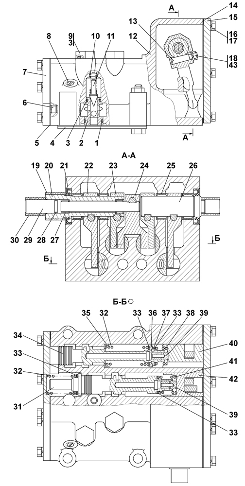
| 0 | Блок управления | 1501-15-41СП(SP) | ||||
| 0 | Блок управления | 1501-15-41-20СП(SP) | ||||
| 1 | Кольцо 024-028-25-2-51-1668 ТУ 2531-260-00149245-00 | - | ||||
| 2 | Корпус | 1501-15-72 | ||||
| 3 | Кольцо 018-022-25-2-51-1668 ТУ 2531-260-00149245-00 | - | ||||
| 4 | Заглушка | 2501-15-151 | ||||
| 5 | Прокладка | 45 0299 | ||||
| 5 | Прокладка | 45 0299-20 | ||||
| 6 | Пробка | 700-37-2182-01 | ||||
| 6 | Пробка | 700-37-2182-01-20 | ||||
| 7 | Крышка | 1501-15-60 | ||||
| 8 | Пробка 3 КГ 1/4? ТУ 23.1.506-91 | 37 0260 | ||||
| 9 | Пробка | 37 5331 | ||||
| 9 | Пробка | 37 5331-20 | ||||
| 10 | Пружина | 38 5050-05-01 | ||||
| 11 | Клапан | 1501-15-46 | ||||
| 12 | Корпус | 1501-15-49 | ||||
| 12 | Корпус | 1501-15-49-20 | ||||
| 13 | Клин | 312501-91-157 | ||||
| 14 | Прокладка | 45 0298 | ||||
| 14 | Прокладка | 45 0298-20 | ||||
| 15 | Крышка | 1501-15-61 | ||||
| 16 | Болт М8-6gx25 ГОСТ 7796-70 | - | ||||
| 17 | Шайба 8Т ГОСТ 6402-70 | - | ||||
| 18 | Гайка М8 ГОСТ 5915-70 | - | ||||
| 19 | Труба | 2501-15-152 | ||||
| 20 | Валик | 1501-15-57 | ||||
| 21 | Манжета 2.2-30x52-3 ГОСТ 8752-79 | - | ||||
| 22 | Рычаг | 1501-15-59 | ||||
| 23 | Рычаг | 1501-15-37 | ||||
| 24 | Рычаг | 1501-15-36 | ||||
| 25 | Подшипник 941/30 ГОСТ 4060-78 | - | ||||
| 26 | Валик | 1501-15-56 | ||||
| 27 | Подшипник 941/15 ГОСТ 4060-78 | - | ||||
| 28 | Кольцо 016-020-25-2-51-1668 ТУ 2531-260-00149245-00 | - | ||||
| 29 | Валик | 1501-15-55 | ||||
| 30 | Труба | 2501-15-152-01 | ||||
| 31 | Золотник | 1501-15-51 | ||||
| 32 | Пружина | 38 5581-01 | ||||
| 33 | Кольцо | 47-59-205 | ||||
| 34 | Золотник | 1501-15-50 | ||||
| 35 | Кольцо | 1501-15-64 | ||||
| 36 | Упор | 1501-15-68 | ||||
| 37 | Кольцо | 1501-15-69 | ||||
| 38 | Пружина | 38 5391-01 | ||||
| 39 | Плунжер | 1501-15-52 | ||||
| 40 | Толкатель | 1501-15-53 | ||||
| 41 | Пружина | 38 5579-01 | ||||
| 42 | Толкатель | 1501-15-54 | ||||
| 43 | Прокладка | 2501-15-226 | ||||
Обращаем Ваше внимание, что пункты отмеченные звездочкой, обязательны для заполнения.