| ||||||
| № п/п | Наименование | Код детали | ||||
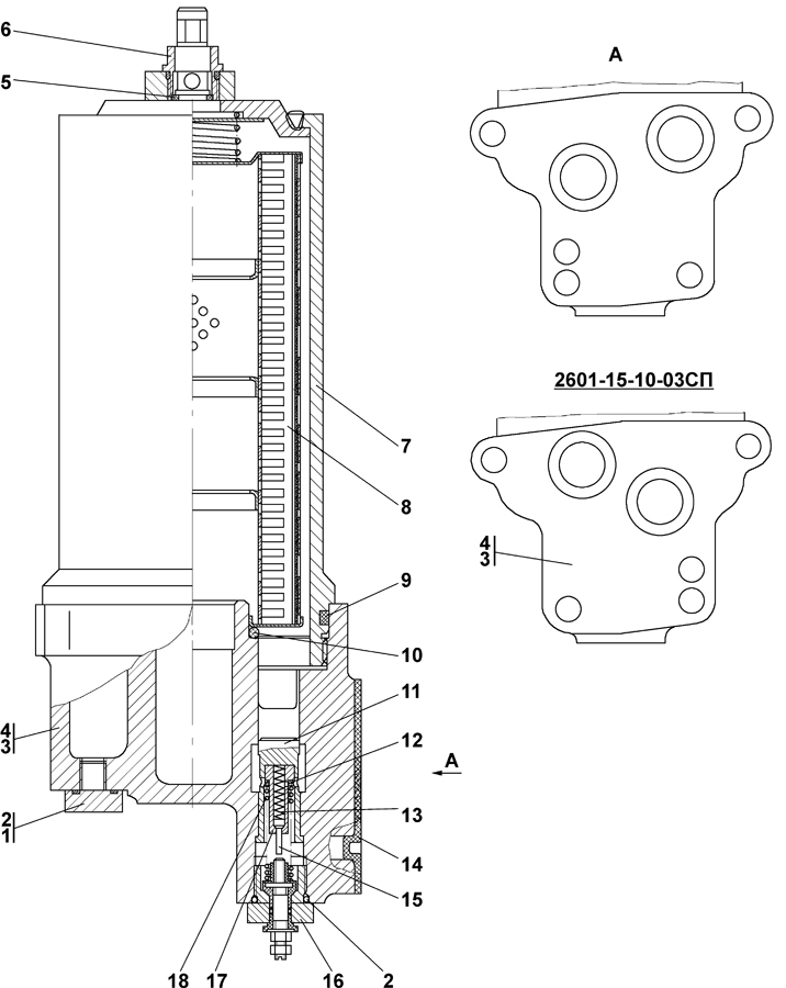
| 0 | Фильтр (правый) | 2601-15-10-02СП(SP) | ||||
| 0 | Фильтр | 2601-15-10-02-20СП | ||||
| 0 | Фильтр (левый) | 2601-15-10-03СП(SP) | ||||
| 0 | Фильтр | 2601-15-10-03-20СП | ||||
| 1 | Кольцо 018-022-25-2-51-1668 ГОСТ 18829-73/ТУ 38.005.204-84 | - | ||||
| 2 | Пробка | 37 5331 | ||||
| 2 | Пробка | 37 5331-20 | ||||
| 3 | Корпус левый (допускается замена на поз.4) | 46-15-145-02 | ||||
| 3 | Корпус левый | 46-15-145-02-20 | ||||
| 4 | Корпус правый (допускается замена на поз.3) | 46-15-144-02 | ||||
| 4 | Корпус правый | 46-15-144-02-20 | ||||
| 5 | Кольцо 024-028-25-2-51-1668 ГОСТ 18829-73/ТУ 38.005.204-84 | - | ||||
| 6 | Пробка сливная | А64.23.000 | ||||
| 7 | Корпус | 2601-15-100-01СП(SP) | ||||
| 7 | Корпус | 2601-15-100-01-20СП | ||||
| 8 | Элемент фильтрующий ЭФМ 020.1012040 ТУ 3117.008.00232058-97 | - | ||||
| 8 | Элемент фильтрующий ЭФМ 020.1012040Т2 ТУ 3117.008.00232058-97 | - | ||||
| 9 | Кольцо 135-145-58-2-51-1668 ТУ 2531-260-00149245-00 | - | ||||
| 10 | Кольцо 055-065-58-2-51-1668 ГОСТ 18829-73/ТУ 38.005.204-84 | - | ||||
| 11 | Клапан | 3500-15-6 | ||||
| 12 | Шайба | 3500-15-16 | ||||
| 13 | Пружина | 700-38-2641 | ||||
| 14 | Заглушка | А64.20.010 | ||||
| 15 | Упор | 3500-15-9 | ||||
| 16 | Пробка | 3500-15-16СП(SP) | ||||
| 16 | Пробка | 3500-15-16-20СП(SP) | ||||
| 17 | Втулка | 3500-15-8 | ||||
| 18 | Пружина | 38 5278 | ||||
Обращаем Ваше внимание, что пункты отмеченные звездочкой, обязательны для заполнения.