| ||||||
| № п/п | Наименование | Код детали | ||||
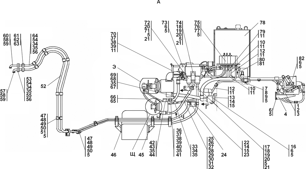
| 1 | Угольник ввертной | 5001-26-77 | ||||
| 1 | Угольник ввертной | 5001-26-77 | ||||
| 1 | Угольник ввертной | 5001-26-77-20 | ||||
| 1 | Угольник ввертной | 5001-26-77-20 | ||||
| 2 | Кольцо 018-022-25-2-51-1668 ТУ 2531-260-00149245-00 | - | ||||
| 2 | Кольцо 018-022-25-2-51-1668 ТУ 2531-260-00149245-00 | - | ||||
| 3 | Контргайка | Н.036.23.022 | ||||
| 3 | Контргайка | Н.036.23.022 | ||||
| 3 | Контргайка | Н.036.23.022-01 | ||||
| 3 | Контргайка | Н.036.23.022-01 | ||||
| 4 | Кронштейн* | 3501-26-157СП(SP) | ||||
| 4 | Кронштейн | 3501-26-157-20СП(SP) | ||||
| 5 | Шайба 16 ОТ ГОСТ 6402-70 | - | ||||
| 5 | Шайба 16 ОТ ГОСТ 6402-70 | - | ||||
| 6 | Болт М16x1,5-6gx35 ГОСТ 7796-70 | - | ||||
| 6 | Болт М16x1,5-6gx35 ГОСТ 7796-70 | - | ||||
| 7 | Амортизатор | 2501-25-37СП(SP) | ||||
| 8 | Накладка | 1101-25-36 | ||||
| 9 | Болт М16x1,5-6gx105 ГОСТ 7795-70 | - | ||||
| 9 | Болт М16x1,5-6gx105 ГОСТ 7795-70 | - | ||||
| 10 | Рукав | 404-26-213-16СП(SP) | ||||
| 10 | Рукав | 404-26-213-16СП(SP) | ||||
| 10 | Рукав | 404-26-213-16-20СП | ||||
| 10 | Рукав | 404-26-213-16-20СП | ||||
| 11 | Кольцо 012-016-25-2-51-1668 ТУ2531-260-00149245-00 | - | ||||
| 11 | Кольцо 012-016-25-2-51-1668 ТУ2531-260-00149245-00 | - | ||||
| 12 | Рукав | 404-26-213-18СП(SP) | ||||
| 12 | Рукав | 404-26-213-18СП(SP) | ||||
| 12 | Рукав | 404-26-213-18-20СП | ||||
| 12 | Рукав | 404-26-213-18-20СП | ||||
| 13 | Кронштейн* | 2501-26-388 | ||||
| 13 | Кронштейн | 2501-26-388-20 | ||||
| 14 | Болт М20x1,5-6gx40 ГОСТ 7796-70 | 28 0720 | ||||
| 14 | Болт М20x1,5-6gx40 ГОСТ 7796-70 | 28 0720-20 | ||||
| 15 | Шайба 20 ОТ ГОСТ 6402-70 | - | ||||
| 15 | Шайба 20 ОТ ГОСТ 6402-70 | - | ||||
| 16 | Коллектор* | 2501-26-387 | ||||
| 16 | Коллектор | 2501-26-387-20 | ||||
| 17 | Трубопровод | 2501-26-286СП(SP) | ||||
| 17 | Трубопровод | 2501-26-286-20СП(SP) | ||||
| 18 | Фланец | 46-26-280 | ||||
| 18 | Фланец | 46-26-280-20 | ||||
| 19 | Винт | 3502-20-4 | ||||
| 19 | Винт | 3502-20-4 | ||||
| 19 | Винт | 3502-20-4-20 | ||||
| 19 | Винт | 3502-20-4-20 | ||||
| 20 | Шайба защитная | 44 0005 | ||||
| 20 | Шайба защитная | 44 0005 | ||||
| 21 | Кольцо 042-050-46-2-51-1668 ТУ 2531-260-00149245-00 | - | ||||
| 21 | Кольцо 042-050-46-2-51-1668 ТУ 2531-260-00149245-00 | - | ||||
| 22 | Кронштейн | 2501-26-281СП(SP) | ||||
| 22 | Кронштейн | 2501-26-281-20СП(SP) | ||||
| 23 | Шайба 20x4 ГОСТ 11371-78 | 31 0310 | ||||
| 23 | Шайба 20x4 ГОСТ 11371-78 | 31 0310 | ||||
| 23 | Шайба 20x4 ГОСТ 11371-78 | 31 0310-20 | ||||
| 23 | Шайба 20x4 ГОСТ 11371-78 | 31 0310-20 | ||||
| 24 | Рукав d32** | 3502-26-108-05СП(SP) | ||||
| 24 | Рукав d32 | 3502-26-108-05-20СП | ||||
| 24 | Рукав d32* | 3502-26-108-07СП(SP) | ||||
| 24 | Рукав d32 | 3502-26-108-07-20СП | ||||
| 24 | Скоба | 2501-26-300 | ||||
| 24 | Скоба | 2501-26-300-20 | ||||
| 25 | Рукав d16 | 2001-26-37-15СП(SP) | ||||
| 25 | Рукав d16 | 2001-26-37-15-20СП | ||||
| 26 | Кольцо защитное | 2001-26-193 | ||||
| 27 | Фланец | 2001-26-125 | ||||
| 27 | Фланец | 2001-26-125-20 | ||||
| 28 | Болт М10-6gx30 ГОСТ 7796-70 | - | ||||
| 29 | Шайба 10 ОТ ГОСТ 6402-70 | - | ||||
| 29 | Шайба 10 ОТ ГОСТ 6402-70 | - | ||||
| 30 | Шайба 10 ГОСТ 11371-78 (допускается замена на поз.31) | - | ||||
| 31 | Шайба 10 ГОСТ 11371-78 (допускается замена на поз.30) | 31 0170 | ||||
| 31 | Шайба 10 ГОСТ 11371-78 | 31 0170-20 | ||||
| 32 | Кольцо 022-028-36-2-51-1668 ТУ 2531-260-00149245-00 | - | ||||
| 33 | Тройник | 404-26-218СП(SP) | ||||
| 33 | Тройник | 404-26-218-20СП(SP) | ||||
| 34 | Болт М12x1,25-6gx35 ГОСТ 7796-70 | - | ||||
| 35 | Шайба 12 ОТ ГОСТ 6402-70 | - | ||||
| 35 | Шайба 12 ОТ ГОСТ 6402-70 | - | ||||
| 36 | Рукав | 404-26-213-24СП(SP) | ||||
| 36 | Рукав | 404-26-213-24-20СП | ||||
| 37 | Скоба | 2501-26-216 | ||||
| 37 | Скоба | 2501-26-216 | ||||
| 37 | Скоба | 2501-26-216-20 | ||||
| 37 | Скоба | 2501-26-216-20 | ||||
| 38 | Планка | 2501-26-217 | ||||
| 38 | Планка | 2501-26-217 | ||||
| 38 | Планка | 2501-26-217-20 | ||||
| 38 | Планка | 2501-26-217-20 | ||||
| 39 | Втулка | 40 0354-02 | ||||
| 39 | Втулка | 40 0354-02 | ||||
| 40 | Болт М12x1,25-6gx25 ГОСТ 7796-70 | - | ||||
| 41 | Кольцо 014-018-25-2-51-1668 ТУ 2531-260-00149245-00 | - | ||||
| 41 | Кольцо 014-018-25-2-51-1668 ТУ 2531-260-00149245-00 | - | ||||
| 42 | Трубопровод | 2501-26-288-01СП(SP) | ||||
| 42 | Трубопровод | 2501-26-288-01-20СП | ||||
| 43 | Болт М12-6gx70 ГОСТ 7795-70 | - | ||||
| 44 | Кольцо 050-060-58-2-51-1668 ТУ 2531-260-00149245-00 | - | ||||
| 45 | Кронштейн | 2501-26-271СП(SP) | ||||
| 45 | Кронштейн | 2501-26-271-20СП(SP) | ||||
| 46 | Кронштейн | 2501-26-272СП(SP) | ||||
| 46 | Кронштейн | 2501-26-272-20СП(SP) | ||||
| 47 | Скоба | 2501-26-300 | ||||
| 47 | Скоба | 2501-26-300-20 | ||||
| 48 | Планка | 2501-26-301 | ||||
| 48 | Планка | 2501-26-301-20 | ||||
| 49 | Втулка | 40 0354-05 | ||||
| 50 | Болт М16x1,5-6gx55 ГОСТ 7796-70 | 28 0555 | ||||
| 50 | Болт М16x1,5-6gx55 ГОСТ 7796-70 | 28 0555-20 | ||||
| 51 | Гайка М16x1,5 ГОСТ 5915-70 | - | ||||
| 52 | Рукав d16 | 2501-26-251-01СП(SP) | ||||
| 52 | Рукав d16 | 2501-26-251-01-20СП | ||||
| 53 | Фланец | 2501-26-83 | ||||
| 53 | Фланец | 2501-26-83 | ||||
| 53 | Фланец | 2501-26-83-20 | ||||
| 53 | Фланец | 2501-26-83-20 | ||||
| 54 | Кольцо защитное | 44 0038 | ||||
| 54 | Кольцо защитное | 44 0038 | ||||
| 55 | Шайба 12 ГОСТ 11371-78 | 31 0210 | ||||
| 55 | Шайба 12 ГОСТ 11371-78 | 31 0210 | ||||
| 56 | Кольцо 032-038-36-2-51-1668 ТУ 2531-260-00149245-00 | - | ||||
| 56 | Кольцо 032-038-36-2-51-1668 ТУ 2531-260-00149245-00 | - | ||||
| 57 | Трубопровод | 2501-26-285СП(SP) | ||||
| 57 | Трубопровод | 2501-26-285-20СП(SP) | ||||
| 58 | Заглушка | 400-26-55 | ||||
| 58 | Заглушка | 400-26-55-20 | ||||
| 59 | Гайка накидная | Н.036.01.005 | ||||
| 59 | Гайка накидная | Н.036.01-005-01 | ||||
| 60 | Трубопровод | 2501-26-285-01СП(SP) | ||||
| 60 | Трубопровод | 2501-26-285-01-20СП | ||||
| 61 | Бугель | 3501-26-290 | ||||
| 61 | Бугель | 3501-26-290-20 | ||||
| 62 | Болт М8-6gx55 ГОСТ 7795-70 | - | ||||
| 63 | Шайба 8Т ГОСТ 6402-70 | - | ||||
| 64 | Рукав d16 | 2501-26-251-02СП(SP) | ||||
| 64 | Рукав d16 | 2501-26-251-02-20СП | ||||
| 65 | Рукав высокого давления | 46-26-355-02СП(SP) | ||||
| 65 | Рукав высокого давления | 46-26-355-02-20СП | ||||
| 66 | Угольник | 46-26-314СП(SP) | ||||
| 66 | Угольник | 46-26-314-20СП(SP) | ||||
| 67 | Кольцо 066-071-30-2-51-1668 ТУ 2531-260-00149245-00 | - | ||||
| 68 | Болт 3М12-6gx110 ГОСТ 7795-70 | 28 1391 | ||||
| 68 | Болт 3М12-6gx110 ГОСТ 7795-70 | 28 1391-20 | ||||
| 69 | Фланец | 3501-26-309 | ||||
| 69 | Фланец | 3501-26-309-20 | ||||
| 70 | Рукав | 404-26-213-15СП(SP) | ||||
| 70 | Рукав | 404-26-213-15-20СП | ||||
| 71 | Болт М16x1,5-6gx85 ГОСТ 7796-70 | 28 0566 | ||||
| 71 | Болт М16x1,5-6gx85 ГОСТ 7796-70 | 28 0566-20 | ||||
| 72 | Фланец | 3501-26-197 | ||||
| 72 | Фланец | 3501-26-197-20 | ||||
| 73 | Распределитель | 3501-26-61СП(SP) | ||||
| 73 | Распределитель | 3501-26-61-20СП(SP) | ||||
| 74 | Рукав d32* | 3501-26-201-01СП(SP) | ||||
| 74 | Рукав d32 | 3501-26-201-01-20СП | ||||
| 75 | Распределитель секционный | 3501-26-63СП(SP) | ||||
| 72 | Распределитель секционный | 3501-26-63-20СП(SP) | ||||
| 76 | Прокладка | 3501-26-247 | ||||
| 76 | Прокладка | 3501-26-247-20 | ||||
| 77 | Болт М16x1,5-6gx45 ГОСТ 7796-70 | 28 0544 | ||||
| 77 | Болт М16x1,5-6gx45 ГОСТ 7796-70 | 28 0544 | ||||
| 77 | Болт М16x1,5-6gx45 ГОСТ 7796-70 | 28 0544-20 | ||||
| 77 | Болт М16x1,5-6gx45 ГОСТ 7796-70 | 28 0544-20 | ||||
| 78 | Бак гидросистемы | 2501-26-81СП(SP) | ||||
| 78 | Бак гидросистемы | 2501-26-81-20СП(SP) | ||||
| 79 | Рукав* | 404-26-213-19СП(SP) | ||||
| 79 | Рукав | 404-26-213-19-20СП | ||||
| 80 | Угольник* | 0602-26-25СП(SP) | ||||
| 80 | Угольник | 0602-26-25-20СП(SP) | ||||
| 81 | Рукав d8* | 0602-28-22-02СПК | ||||
| 81 | Рукав d8 | 0602-28-22-02-20СПК | ||||
| 82 | Распределитель секционный* | 3501-26-62СП(SP) | ||||
| 82 | Распределитель секционный | 3501-26-62-20СП(SP) | ||||
Обращаем Ваше внимание, что пункты отмеченные звездочкой, обязательны для заполнения.