| № п/п | № рис. | Наименование | Код детали | УХЛ | Т | У |
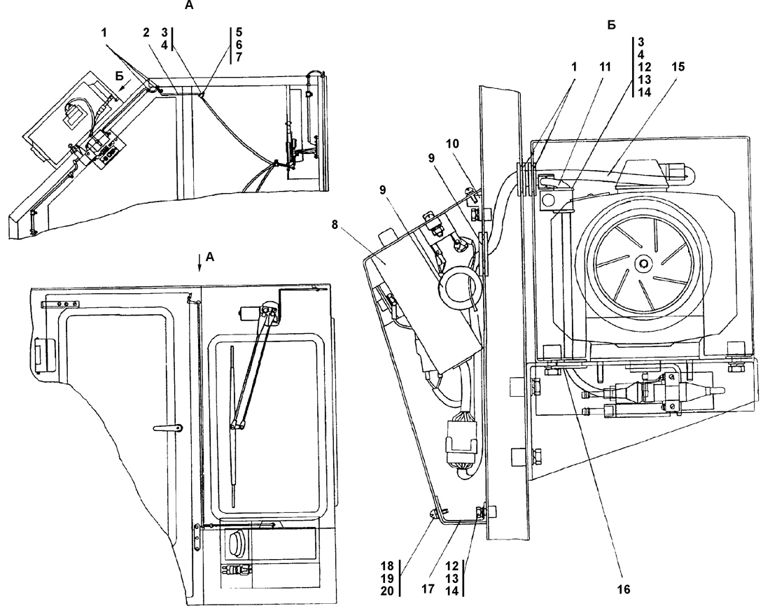
| 0 | 1 | Электрооборудование отопительной установки | 311502-10-16СП | 1 |
- | - |
| 1 | 1 | Кольцо | 700-40-6736 | 5 |
- | - |
| 2 | 1 | Провод | 311502-10-131СП | 1 |
- | - |
| 3 | 1 | Хомутик | 415 119 | 2 |
- | - |
| 4 | 1 | Прокладка | 700-40-6684-06 | 2 |
- | - |
| 5 | 1 | Болт М8-6gx16 ГОСТ 7796-70 | - | 1 |
- | - |
| 6 | 1 | Шайба 8Т | - | 1 |
- | - |
| 7 | 1 | Шайба 8 | 310 150 | 1 |
- | - |
| 8 | 1 | Установка блока автоматики | 311502-10-139 | 1 |
- | - |
| 9 | 1 | Кольцо | 700-40-3141 | 2 |
- | - |
| 10 | 1 | Упор | 311502-10-7 | 2 |
- | - |
| 11 | 1 | Жгут 1 | - | 1 |
- | - |
| 12 | 1 | Болт М6-6gx16 ГОСТ 7798-70 | - | 5 |
- | - |
| 13 | 1 | Шайба 6Т | - | 5 |
- | - |
| 14 | 1 | Шайба 6 | 310 110 | 5 |
- | - |
| 15 | 1 | Жгут | - | 1 |
- | - |
| 16 | 1 | Кольцо | 700-40-6682 | 1 |
- | - |
| 17 | 1 | Уголок | 311502-10-8 | 2 |
- | - |
| 18 | 1 | Винт В.М5-6gx12 ГОСТ 17473-80 | - | 5 |
- | - |
| 19 | 1 | Шайба 5 | - | 4 |
- | - |
| 20 | 1 | Шайба 5 | 310 080 | 4 |
- | - |