![]() |
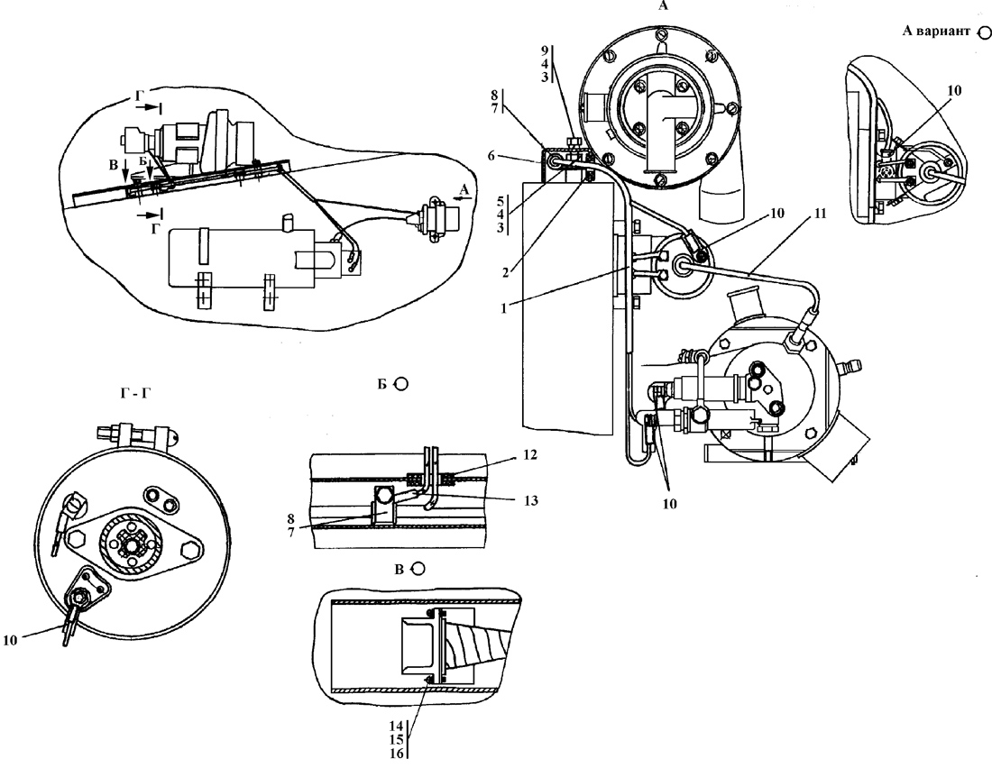
| Рис.1 |
| № п/п | № рис. | Наименование | Код детали | |||
| 0 | 1 | Электрооборудование подогревателя ПЖД30Г | 311502-10-17-01СП | |||
| 1 | 1 | Жгут | 311502-10-132СП | |||
| 2 | 1 | Кольцо | 700-40-6736 | |||
| 3 | 1 | Шайба 8 | 310 150 | |||
| 4 | 1 | Шайба 8Т | - | |||
| 5 | 1 | Болт М8-6gx16 | - | |||
| 6 | 1 | Кожух защитный | 311502-10-12 | |||
| 7 | 1 | Хомутик | 700-41-2866 | |||
| 8 | 1 | Болт М8-6gx25 | - | |||
| 9 | 1 | Прокладка | 700-40-6684-05 | |||
| 10 | 1 | Наконечник | 700-40-5607 | |||
| 11 | 1 | Провод ВН | 312505-10-107СП | |||
| 12 | 1 | Кольцо | 700-40-6695 | |||
| 13 | 1 | Провод | 2001-10-110-21СП | |||
| 14 | 1 | Винт В.М3-6gx16 ГОСТ 17473-80 | - | |||
| 15 | 1 | Шайба 3 | - | |||
| 16 | 1 | Шайба 3 | 310 020 |
Обращаем Ваше внимание, что пункты отмеченные звездочкой, обязательны для заполнения.