![]() |
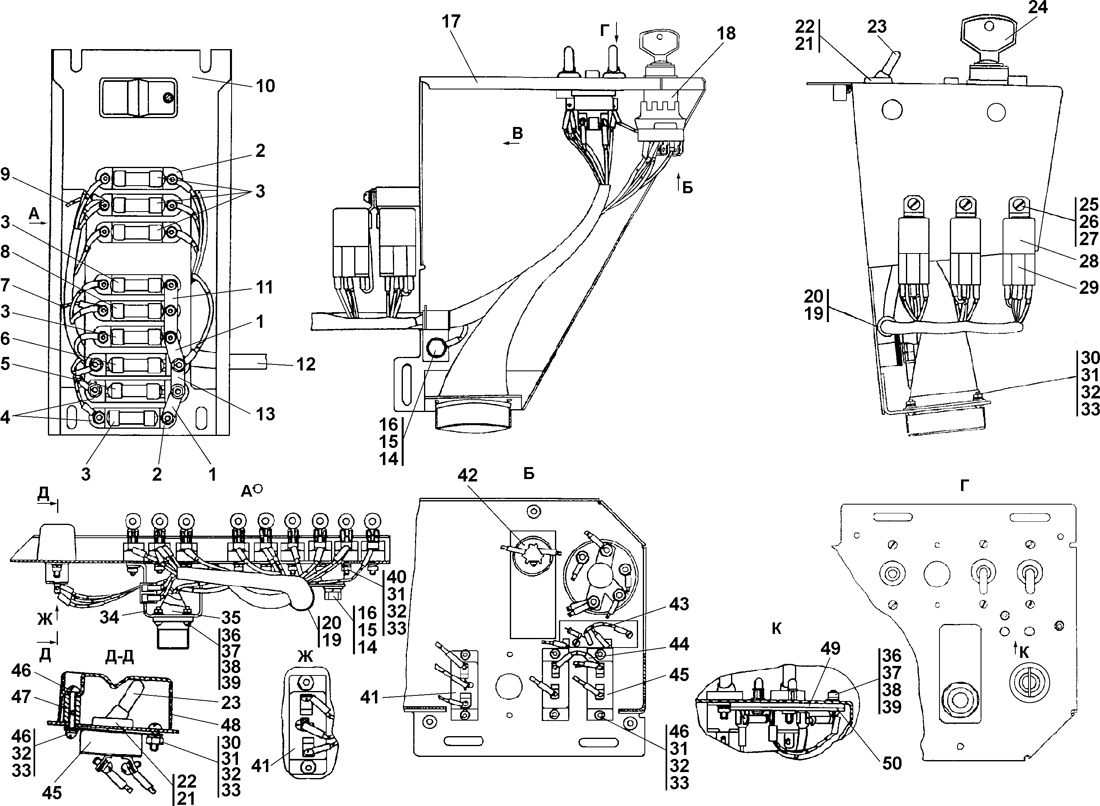
| Рис.1 |
| № п/п | № рис. | Наименование | Код детали | |||
| 0 | 1 | Блок выключателей | 311502-10-100СП | |||
| 0 | 1 | Блок выключателей | 311502-10-100-20СП | |||
| 1 | 1 | Шинка | 20.10.3501 | |||
| 1 | 1 | Шинка | 3501-10-20-20 | |||
| 2 | 1 | Блок защиты БЗ-20, УХЛ3,30В | 3 424 430 011 | |||
| 2 | 1 | Блок защиты БЗ-20,УХЛ3, 30В, экспорт | 3 424 430 012 | |||
| 3 | 1 | Предохранитель ПВ-10,УХЛ3, 30В | 3 424 492 031 | |||
| 3 | 1 | Предохранитель ПВ-10,УХЛ3, 30В, экспорт | 3 424 492 032 | |||
| 4 | 1 | Блок защиты БЗ-30, УХЛ3, 30В | 3 124 430 021 | |||
| 4 | 1 | Блок защиты БЗ-30, УХЛ3, 30В, экспорт | 3 424 430 022 | |||
| 5 | 1 | Предохранитель ПВ-30,УХЛ3,30В | 3 424 492 051 | |||
| 5 | 1 | Предохранитель ПВ-30,УХЛ3,30В экспорт | 3 424 492 052 | |||
| 6 | 1 | Предохранитель ПВ-100АС,УХЛ3, 30В | 3 424 492 111 | |||
| 6 | 1 | Предохранитель ПВ-100АС,УХЛ3, 30В экспорт | 3 424 492 112 | |||
| 7 | 1 | Провод | 311502-10-119-19СП | |||
| 7 | 1 | Провод | 311502-10-119-19-20СП | |||
| 8 | 1 | Предохранитель ПВ-20, УХЛ3,30В | 3 424 492 041 | |||
| 8 | 1 | Предохранитель ПВ-20, УХЛ3,30В экспорт | - | |||
| 9 | 1 | Провод | 311502-10-119-18СП | |||
| 9 | 1 | Провод | 311502-10-119-18-20СП | |||
| 10 | 1 | Панель | 3501-10-173СП | |||
| 10 | 1 | Панель | 3501-10-173-20СП | |||
| 11 | 1 | Шинка | 03.10.2502 | |||
| 11 | 1 | Шинка | 2502-10-3-20 | |||
| 12 | 1 | Жгут | 311502-10-101СП | |||
| 12 | 1 | Жгут | 311502-10-101-20СП | |||
| 13 | 1 | Шинка | 22.10.3501 | |||
| 13 | 1 | Шинка | 3501-10-22-20 | |||
| 14 | 1 | Шайба 8 | 310 150 | |||
| 14 | 1 | Шайба 8 | 31 0150-20 | |||
| 15 | 1 | Шайба 8Т | - | |||
| 16 | 1 | Болт М8-6gx16 ГОСТ 7796-70 | - | |||
| 17 | 1 | Кронштейн | 312001-10-124СП | |||
| 17 | 1 | Кронштейн | 312001-10-124-20СП | |||
| 17 | 1 | Выключатель стартера и приборов ВК-353 | 4 573 734 267 | |||
| 17 | 1 | Выключатель стартера и приборов ВК-353-Э | 4 573 734 268 | |||
| 17 | 1 | Выключатель стартера и приборов ВК-353-Т | 4 573 734 269 | |||
| 19 | 1 | Хомутик | 700-41-3307 | |||
| 20 | 1 | Прокладка | 700-40-6684-03 | |||
| 21 | 1 | Манжета (доп. замена на поз. 22) | 400 428 | |||
| 22 | 1 | Манжета (допускается замена на поз.21) | 400 410 | |||
| 23 | 1 | Колпачок | 25.10.3501 | |||
| 24 | 1 | Ключ | - | |||
| 25 | 1 | Винт В.М6-6gx12 | - | |||
| 26 | 1 | Шайба 6Т | - | |||
| 27 | 1 | Шайба 6 | 310 110 | |||
| 27 | 1 | Шайба 6 | 31 0110-20 | |||
| 28 | 1 | Реле 901.3747 ТУ37.003.1418-94 | 4 573 748 383 | |||
| 29 | 1 | Колодка гнездовая 607605 ОСТ37.003.032-88 | 4 573 739 016 | |||
| 30 | 1 | Винт В.М4-6gx12 | - | |||
| 31 | 1 | Гайка М4 | - | |||
| 32 | 1 | Шайба 4 | - | |||
| 33 | 1 | Шайба 4 | 310 050 | |||
| 33 | 1 | Шайба 4 | 31 0050-20 | |||
| 34 | 1 | Кронштейн | 312001-10-9 | |||
| 34 | 1 | Кронштейн | 312001-10-9-20 | |||
| 35 | 1 | Жгут | 405-10-172-01СП | |||
| 35 | 1 | Жгут | 405-10-172-01-20СП | |||
| 36 | 1 | Винт В.М3-6gx10 | - | |||
| 37 | 1 | Гайка М3 | - | |||
| 38 | 1 | Шайба 3 | - | |||
| 39 | 1 | Шайба 3 | 310 020 | |||
| 39 | 1 | Шайба 3 | 31 0020-20 | |||
| 40 | 1 | Винт В.М4-6gx16 | - | |||
| 41 | 1 | Переключатель ППН-45 | 3 428 277 320 | |||
| 41 | 1 | Переключатель ППН-45, экспорт | 3 428 277 325 | |||
| 41 | 1 | Переключатель ППН-45, Т | 3 428 277 326 | |||
| 42 | 1 | Выключатель кнопочный 11.3704.000 ТУ37.003.710-80 | 4 573 734 401 | |||
| 43 | 1 | Провод | 2504-10-102-08СП | |||
| 43 | 1 | Провод | 2504-10-102-08-20СП | |||
| 44 | 1 | Провод | 404-10-180-47СП | |||
| 44 | 1 | Провод | 404-10-180-47-20СП | |||
| 45 | 1 | Переключатель В-45М | 3 428 277 110 | |||
| 45 | 1 | Переключатель В-45М, экспорт | 3 428 277 115 | |||
| 45 | 1 | Переключатель В-45М, Т | 3 428 277 116 | |||
| 46 | 1 | Винт В.М4-6gx10 | - | |||
| 46 | 1 | Винт В.М4-6gx12 ГОСТ 17475-80 | - | |||
| 47 | 1 | Проставка | 3501-10-46 | |||
| 48 | 1 | Крышка | 3501-10-45 | |||
| 49 | 1 | Прокладка | 24.10.3501 | |||
| 50 | 1 | Плата | 2502-10-138СП |
Обращаем Ваше внимание, что пункты отмеченные звездочкой, обязательны для заполнения.