| № п/п | № рис. | Наименование | Код детали | УХЛ | Т | У |
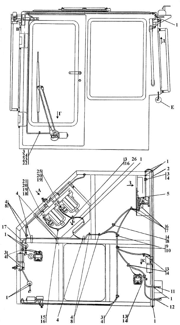
| 0 | 0 | Электрооборудование крыши кабины | 312001-10-12-01СП | 1 |
- | - |
| 0 | 0 | Электрооборудование крыши кабины | 312001-10-12-10СП | - |
- | 1 |
| 0 | 0 | Электрооборудование крыши кабины | 312001-10-12-20СП | - |
1 | - |
| 1 | 1 | Кольцо | 700-40-6695 | 13 |
13 | 13 |
| 2 | 1 | Жгут | 312001-10-106СП | 1 |
- | 1 |
| 2 | 1 | Жгут | 312001-10-106-20СП | - |
1 | - |
| 3 | 1 | Хомутик | 415 119 | 7 |
7 | 7 |
| 4 | 1 | Прокладка | 700-40-6684-04 | 11 |
11 | 11 |
| 5 | 1 | Блок выключателей | 405-10-133СП | 1 |
- | 1 |
| 5 | 1 | Блок выключателей | 405-10-133-20СП | - |
1 | - |
| 6 | 1 | Хомутик | 58-41-2006-04 | 3 |
3 | 3 |
| 7 | 1 | Прокладка | 700-40-6684-02 | 3 |
3 | 3 |
| 8 | 1 | Хомутик | 700-41-2866 | 9 |
8 | 9 |
| 9 | 1 | Хомутик | 58-41-2006-01 | 2 |
2 | 2 |
| 10 | 1 | Прокладка | 700-40-6684-03 | 2 |
2 | 2 |
| 11 | 1 | Провод | 312001-10-114СП | 1 |
- | 1 |
| 11 | 1 | Провод | 312001-10-114-20СП | - |
1 | - |
| 12 | 1 | Провод | 312001-10-109СП | 1 |
- | 1 |
| 12 | 1 | Провод | 312001-10-109-20СП | - |
1 | - |
| 13 | 1 | Прокладка | 700-40-6684-07 | 1 |
1 | 1 |
| 14 | 1 | Хомутик | 700-41-3310 | 1 |
1 | 1 |
| 15 | 1 | Хомутик | 415 090 | 1 |
1 | 1 |
| 16 | 1 | Прокладка | 700-40-6684-06 | 7 |
7 | 7 |
| 17 | 1 | Жгут | 312001-10-100СП | 1 |
- | 1 |
| 17 | 1 | Жгут | 312001-10-100-20СП | - |
1 | - |
| 18 | 1 | Панель соединительная 14.3723 000 ТУ 37.003.1358-93 | - | 1 |
1 | 1 |
| 19 | 1 | Шайба 6 | 310 110 | 18 |
- | 18 |
| 19 | 1 | Шайба 6 | 31 0110-20 | - |
12 | - |
| 20 | 1 | Шайба 6Т | - | 18 |
12 | 18 |
| 21 | 1 | Винт В.М6-6gx22 | - | 2 |
2 | 2 |
| 22 | 1 | Шайба 8 | 310 150 | 22 |
- | 22 |
| 22 | 1 | Шайба 8 | 31 0150-20 | - |
22 | - |
| 23 | 1 | Шайба 8Т | - | 22 |
22 | 22 |
| 24 | 1 | Болт М8-6gx16 ГОСТ 7796-70 | - | 22 |
22 | 22 |
| 25 | 1 | Винт В.М6-6gx12 | - | 4 |
4 | 4 |
| 26 | 1 | Жгут | 312501-10-115СП | 1 |
- | 1 |
| 26 | 1 | Жгут | 312501-10-115-20СП | - |
1 | - |
| 1 | 2 | Провод | 404-10-180-51СП | 4 |
- | 4 |
| 1 | 2 | Провод | 404-10-180-51-20СП | - |
4 | - |
| 2 | 2 | Винт В.М6-6gx8 | 350 420 | 4 |
- | 4 |
| 2 | 2 | Винт В.М6-6gx8 | 35 0420-20 | - |
4 | - |
| 3 | 2 | Шайба 6Т | - | 18 |
12 | 18 |
| 4 | 2 | Шайба 6 | 310 110 | 18 |
- | 18 |
| 4 | 2 | Шайба 6 | 31 0110-20 | - |
12 | - |
| 5 | 2 | Винт В.М6-6gx16 | - | 8 |
8 | 8 |
| 6 | 2 | Болт М8-6gx16 ГОСТ 7796-70 | - | 22 |
22 | 22 |
| 7 | 2 | Шайба 8Т | - | 22 |
22 | 22 |
| 8 | 2 | Шайба | 310 150 | 22 |
- | 22 |
| 8 | 2 | Шайба | 31 0150-20 | - |
22 | - |
| 9 | 2 | Хомутик | 415 119 | 7 |
7 | 7 |
| 10 | 2 | Прокладка | 700-40-6684-06 | 7 |
7 | 7 |
| 11 | 2 | Винт В.М4-6gx16 | - | 4 |
4 | 4 |
| 12 | 2 | Гайка М4 | - | 4 |
4 | 4 |
| 13 | 2 | Шайба 4 | - | 4 |
4 | 4 |
| 14 | 2 | Шайба 4 | 310 050 | 4 |
- | 4 |
| 14 | 2 | Шайба 4 | 31 0050-20 | - |
4 | - |
| 15 | 2 | Провод | 404-10-180-55СП | 2 |
- | 2 |
| 15 | 2 | Провод | 404-10-180-55-20СП | - |
2 | - |
| 16 | 2 | Переключатель ППН-45 | 4 573 737 320 | 2 |
- | - |
| 16 | 2 | Переключатель ППН-45,экспорт | 4 573 737 325 | - |
- | 2 |
| 16 | 2 | Переключатель ППН-45,Т | 4 573 737 326 | - |
2 | - |
| 17 | 2 | Предохранитель термобиметаллический 29.3722 ТУ 37 003.1415-92 | 4 573 731 494 | 1 |
1 | 1 |
| 18 | 2 | Винт В.М5-6gx16 | - | 2 |
2 | 2 |
| 19 | 2 | Гайка М5 | - | 2 |
2 | 2 |
| 20 | 2 | Шайба 5 | - | 2 |
2 | 2 |
| 21 | 2 | Шайба 5 | 310 080 | 2 |
- | 2 |
| 21 | 2 | Шайба 5 | 31 0080-20 | - |
2 | - |
| 22 | 2 | Плата | ТТ2501-10-142СП | 1 |
- | 1 |
| 22 | 2 | Плата | ТТ2501-10-142-20СП | - |
1 | - |
| 23 | 2 | Провод | 2702-10-131-39СП | 1 |
- | 1 |
| 23 | 2 | Провод | 2702-10-131-39-20СП | - |
1 | - |
| 24 | 2 | Колодка гнездовая 602606 | 4 573 739 009 | 4 |
4 | 4 |
| 25 | 2 | Панель соединительная 17.3723000 ТУ 37.003.1358-93 | 4 573 732 131 | 1 |
1 | 1 |
| 26 | 2 | Наконечник | 700-40-5607 | 5 |
5 | 5 |
| 27 | 2 | Колодка гнездовая 602602 | 4 573 739 003 | 5 |
5 | 5 |
| 28 | 2 | Лампа накаливания А24-21-3 ГОСТ 2023.1-88 | 3 466 212 410 | 2 |
2 | 2 |
| 29 | 2 | Плафон 0026.123714 ТУ 37.458.064-90 | 4 573 723 305 | 2 |
2 | 2 |
| 30 | 2 | Жгут | 312001-10-105СП | 1 |
- | 1 |
| 30 | 2 | Жгут | 312001-10-105-20СП | - |
1 | - |
| 31 | 2 | Кольцо | 700-40-6736 | 2 |
2 | 2 |
| 1 | 3 | Прокладка | 700-40-6684-04 | 12 |
11 | 12 |
| 2 | 3 | Кожух | 311502-10-148СП | 1 |
1 | 1 |
| 3 | 3 | Мини-регулятор* | - | 1 |
- | 1 |
| 4 | 3 | Шуруп 2-3x25 ГОСТ1144-80 | - | 1 |
- | 1 |
| 5 | 3 | Винт ВМ6-6gx12 | - | 4 |
4 | 4 |
| 6 | 3 | Шайба 6Т | - | 18 |
12 | 18 |
| 7 | 3 | Шайба 6 | 310 110 | 18 |
- | 18 |
| 7 | 3 | Шайба 6 | 31 0110-20 | - |
12 | - |
| 8 | 3 | Кожух | 311502-10-145СП | 1 |
1 | 1 |
| 9 | 3 | Шайба 3 | - | 4 |
4 | 4 |
| 10 | 3 | Винт ВМ3-6gx10 | - | 2 |
- | 2 |
| 11 | 3 | Блок предохранителей* | - | 1 |
- | 1 |
| 12 | 3 | Кольцо | 700-40-6684-04 | 13 |
12 | 13 |
| 13 | 3 | Хомутик | 700-41-2866 | 9 |
8 | 9 |
| 14 | 3 | Кольцо | 700-40-6695 | 13 |
12 | 13 |
| 15 | 3 | Провод | 311502-10-149СП | 1 |
1 | 1 |