| № п/п | № рис. | Наименование | Код детали | УХЛ | Т | У |
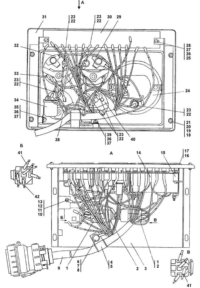
| 0 | 1 | Щиток приборов | 2502-10-153-02СП | 1 |
- | 1 |
| 0 | 1 | Щиток приборов | 2502-10-153-02-20СП | - |
1 | - |
| 1 | 1 | Колодка гнездовая 607605 ОСТ 37.003.032-88 | 4 573 739 016 | 2 |
2 | 2 |
| 2 | 1 | Реле 901.3747 ТУ 37.003.1418-94 | 4 573 748 383 | 2 |
2 | 2 |
| 3 | 1 | Щиток | 3501-10-171СП | 1 |
- | 1 |
| 3 | 1 | Щиток | 3501-10-171-20СП | - |
1 | - |
| 4 | 1 | Прокладка | 700-40-6684-04 | 1 |
1 | 1 |
| 5 | 1 | Хомутик | 700-41-3179 | 1 |
1 | 1 |
| 6 | 1 | Болт М8-6gx16 ГОСТ 7796-70 | - | 1 |
1 | 1 |
| 7 | 1 | Шайба 8Т | - | 1 |
1 | 1 |
| 8 | 1 | Шайба 8 | 310 150 | 1 |
- | 1 |
| 8 | 1 | Шайба 8 | 31 0150-20 | - |
1 | - |
| 9 | 1 | Жгут | 2502-10-154-01СП | 1 |
- | 1 |
| 9 | 1 | Жгут | 2502-10-154-01-20СП | - |
1 | - |
| 10 | 1 | Шайба 3 | 310 020 | 1 |
- | 1 |
| 10 | 1 | Шайба 3 | 31 0020-20 | - |
1 | - |
| 11 | 1 | Шайба 3 | - | 1 |
1 | 1 |
| 12 | 1 | Гайка М3 | - | 1 |
1 | 1 |
| 13 | 1 | Винт В.М3-6gx10 | - | 1 |
1 | 1 |
| 14 | 1 | Провод 112 | 2502-10-119-01СП | 1 |
- | 1 |
| 14 | 1 | Провод 112 | 2502-10-119-01-20СП | - |
1 | - |
| 15 | 1 | Проставка | 3501-10-41 | 2 |
2 | 2 |
| 16 | 1 | Винт БКЖИ 758161.251-03 | - | 2 |
- | 2 |
| 16 | 1 | Винт БКЖИ 758161.251-07 | - | - |
2 | - |
| 17 | 1 | Табличка | 420 247 | 1 |
- | 1 |
| 17 | 1 | Табличка | 42 0247-20 | - |
1 | - |
| 18 | 1 | Шайба 5 | 310 080 | 4 |
- | 4 |
| 18 | 1 | Шайба 5 | 31 0080-20 | - |
4 | - |
| 19 | 1 | Шайба 5 | - | 4 |
4 | 4 |
| 20 | 1 | Гайка М5 | - | 4 |
4 | 4 |
| 21 | 1 | Винт В.М5-6gx12 | - | 4 |
4 | 4 |
| 22 | 1 | Патрон со штекером ЛВ211-3714329 ТУ 37.458.063-90 | 4 573 347 329 | 6 |
6 | 6 |
| 23 | 1 | Лампа А24-2 ГОСТ 2023.1-88 | 3 466 212 401 | 6 |
6 | 6 |
| 24 | 1 | Тахометр 2521.3813 ТУ 37.003.1251-85 | 4 573 833 224 | 1 |
- | 1 |
| 24 | 1 | Тахометр 2527.3813 ТУ 37.003.1251-85 | 4 573 833 225 | - |
1 | - |
| 25 | 1 | Шайба 4 | 310 050 | 2 |
- | 2 |
| 25 | 1 | Шайба 4 | 31 0050-20 | - |
2 | - |
| 26 | 1 | Шайба 4 | - | 2 |
2 | 2 |
| 27 | 1 | Гайка М4 | - | 2 |
2 | 2 |
| 28 | 1 | Винт В.М4-6gx25 | - | 2 |
2 | 2 |
| 29 | 1 | Приемник 33 | 4 573 823 292 | 1 |
- | - |
| 29 | 1 | Приемник 3306 | 4 573 823 293 | - |
- | 1 |
| 29 | 1 | Приемник 3307 | 4 573 823 294 | - |
1 | - |
| 30 | 1 | Плата | 313502-10-118-01СП | 1 |
1 | 1 |
| 31 | 1 | Панель | 3501-10-42-02 | 1 |
- | 1 |
| 31 | 1 | Панель | 3501-10-42-02-20 | - |
1 | - |
| 32 | 1 | Приемник указателя температуры 36.3807010 | 4 573 822 492 | 1 |
- | - |
| 32 | 1 | Приемник указателя температуры 3606.3807010 | 4 573 822 493 | - |
- | 1 |
| 32 | 1 | Приемник указателя температуры 3607.3807010 | 4 573 822 494 | - |
1 | - |
| 33 | 1 | Провод 110 | 2502-10-120СП | 1 |
- | 1 |
| 33 | 1 | Провод 110 | 2502-10-120-20СП | - |
1 | - |
| 34 | 1 | Реле-сигнализатор 733.3747-10 ТУ 37.003.709-80 | - | 1 |
1 | 1 |
| 35 | 1 | Винт В.М6-6gx8 | 350 420 | 1 |
- | 1 |
| 35 | 1 | Винт В.М6-6gx8 | 35 0420-20 | - |
1 | - |
| 36 | 1 | Шайба 6Т | - | 2 |
2 | 2 |
| 37 | 1 | Шайба 6 | 310 110 | 2 |
- | 2 |
| 37 | 1 | Шайба 6 | 31 0110-20 | - |
2 | - |
| 38 | 1 | Указатель напряжения 11.3812 | 4 573 832 005 | - |
- | - |
| 38 | 1 | Указатель напряжения 11.3812-Э | 4 573 832 006 | - |
- | 1 |
| 38 | 1 | Указатель напряжения 11.3812-Т | 4 573 832 007 | - |
1 | - |
| 39 | 1 | Винт В.М6-6gx12 | - | 1 |
1 | 1 |
| 40 | 1 | Приемник указателя уровня топлива 34.3806010 | 4 573 821 266 | 1 |
- | - |
| 40 | 1 | Приемник указателя уровня топлива 3406.3806010 | 4 573 821 267 | - |
- | 1 |
| 40 | 1 | Приемник указателя уровня топлива 3407.3806010 | 4 573 821 268 | - |
1 | - |
| 41 | 1 | Провод | 404-10-180-78СП | 2 |
- | 2 |
| 41 | 1 | Провод | 404-10-180-78-20СП | - |
2 | - |
| 42 | 1 | Провод | 3501-10-159СП | 1 |
- | 1 |
| 42 | 1 | Провод | 3501-10-159-20СП | - |
1 | - |