| № п/п | № рис. | Наименование | Код детали | УХЛ | Т | У |
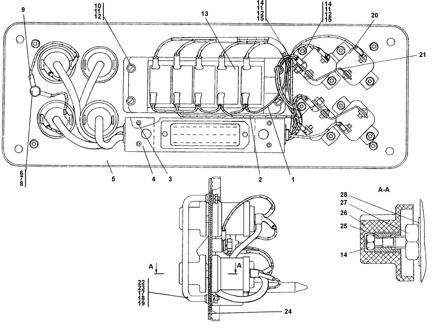
| 0 | 1 | Блок выключателей | 405-10-133СП | 1 |
- | 1 |
| 0 | 1 | Блок выключателей | 405-10-133-20СП | - |
1 | - |
| 1 | 1 | Провод 55 | 405-10-145СП | 1 |
- | 1 |
| 1 | 1 | Провод 55 | 405-10-145-20СП | - |
1 | - |
| 2 | 1 | Провод 65 | 405-10-146СП | 1 |
- | 1 |
| 2 | 1 | Провод 65 | 405-10-146-20СП | - |
1 | - |
| 3 | 1 | Винт В.М4-6gx12 | - | 4 |
4 | 4 |
| 4 | 1 | Жгут | 405-10-144СП | 1 |
- | 1 |
| 4 | 1 | Жгут | 405-10-144-20СП | - |
1 | - |
| 5 | 1 | Щиток | 405-10-143СП | 1 |
- | 1 |
| 5 | 1 | Щиток | 405-10-143-20СП | - |
1 | - |
| 6 | 1 | Болт М6-6gx16 ГОСТ 7798-70 | - | 1 |
1 | 1 |
| 7 | 1 | Шайба 6Т | - | 1 |
1 | 1 |
| 8 | 1 | Шайба 6 | 310 110 | 1 |
- | 1 |
| 8 | 1 | Шайба 6 | 31 0110-20 | - |
1 | - |
| 9 | 1 | Провод 110 | 405-10-147СП | 2 |
- | 2 |
| 9 | 1 | Провод 110 | 405-10-147-20СП | - |
2 | - |
| 10 | 1 | Винт В.М5-6gx8 | - | 4 |
4 | 4 |
| 11 | 1 | Шайба 5 | - | 6 |
6 | 6 |
| 12 | 1 | Шайба 5 | 310 080 | 6 |
- | 6 |
| 12 | 1 | Шайба 5 | 31 0080-20 | - |
6 | - |
| 13 | 1 | Блок клавишных выключателей 53.3710-01.17 ТУ37.003.1201-83 | 4 573 734 888 | 1 |
1 | 1 |
| 14 | 1 | Гайка М5 | - | 6 |
6 | 6 |
| 15 | 1 | Винт В.М5-6gx12 | - | 2 |
2 | 2 |
| 16 | 1 | Винт В.М4-6gx16 | - | 8 |
8 | 8 |
| 17 | 1 | Гайка М4 | - | 8 |
8 | 8 |
| 18 | 1 | Шайба 4 | - | 12 |
12 | 12 |
| 19 | 1 | Шайба 4 | 310 050 | 12 |
- | 12 |
| 19 | 1 | Шайба 4 | 31 0020-20 | - |
12 | - |
| 20 | 1 | Предохранитель термобиметаллический 292.3722 ТУ37.003.1415-92 | 4 573 731 496 | 4 |
4 | 4 |
| 21 | 1 | Шинка | 405-10-38 | 2 |
- | 2 |
| 21 | 1 | Шинка | 405-10-38-20 | - |
2 | - |
| 22 | 1 | Ручка | 405-10-6 | 2 |
- | 2 |
| 22 | 1 | Ручка | 405-10-6-20 | - |
2 | - |
| 23 | 1 | Втулка | 405-10-7 | 4 |
- | 4 |
| 23 | 1 | Втулка | 405-10-7-20 | - |
4 | - |
| 24 | 1 | Панель | ТТ2501-10-7 | 1 |
- | 1 |
| 24 | 1 | Панель | ТТ2501-10-7-20 | - |
1 | - |
| 25 | 1 | Втулка | 405-10-36 | 4 |
- | 4 |
| 25 | 1 | Втулка | 405-10-36-20 | - |
4 | - |
| 26 | 1 | Ручка | 405-10-34 | 4 |
4 | 4 |
| 27 | 1 | Гайка М12x1,25 | 300 220 | 4 |
- | 4 |
| 27 | 1 | Гайка М12x1,25 | 30 0220-20 | - |
4 | - |
| 28 | 1 | Шайба 12x0,5 | 310 220 | 4 |
- | 4 |
| 28 | 1 | Шайба 12x0,5 | 31 0220-20 | - |
4 | - |