| № п/п | № рис. | Наименование | Код детали | УХЛ | Т | У |
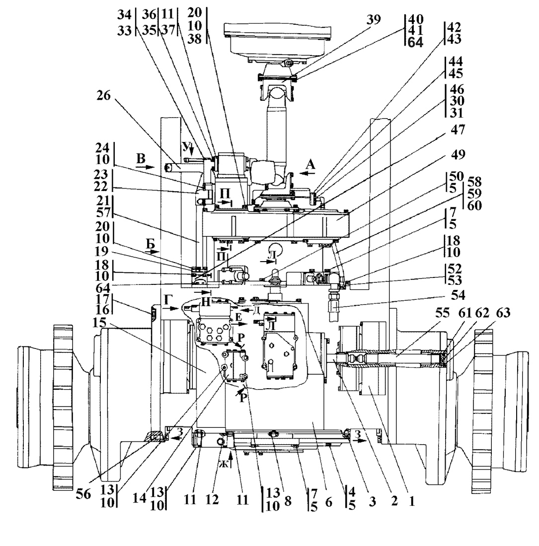
| 0 | 0 | Установка трансмиссии | 312001-16-16-03СП | 1 |
- | - |
| 0 | 0 | Установка трансмиссии | 312001-16-16-03-20СП | - |
1 | - |
| 1 | 1 | Передача бортовая, фрикцион и тормоз | 312001-19-1СП | 2 |
- | - |
| 1 | 1 | Передача бортовая, фрикцион и тормоз | 312001-19-1-20СП | - |
2 | - |
| 2 | 1 | Торсион | 2001-16-110СП | 2 |
2 | - |
| 3 | 1 | Штифт | 325 463 | 2 |
2 | - |
| 4 | 1 | Болт М16x1,5-6gx75 | 280 562 | 21 |
- | - |
| 4 | 1 | Болт М16x1,5-6gx75 | 28 0562-20 | - |
21 | - |
| 5 | 1 | Шайба 16.ОТ | - | 33 |
33 | - |
| 6 | 1 | Блок трансмиссии | 2001-12-13СП | 1 |
- | - |
| 6 | 1 | Блок трансмиссии | 2001-12-13-20СП | - |
1 | - |
| 7 | 1 | Болт М16x1,5-6gx105 | 280 570 | 4 |
- | - |
| 7 | 1 | Болт М16x1,5-6gx105 | 28 0570-20 | - |
4 | - |
| 8 | 1 | Кольцо 030-035-30-ИРП1314-1 | - | 5 |
5 | - |
| 10 | 1 | Шайба 12.ОТ | - | 65 |
65 | - |
| 11 | 1 | Кольцо 038-046-46-2-51-1668 | - | 5 |
5 | - |
| 12 | 1 | Кольцо 135-145-58-2-51-1668 | - | 1 |
1 | - |
| 13 | 1 | Болт М12-6gx90 | 280 388 | 15 |
- | - |
| 13 | 1 | Болт М12-6gx90 | 28 0388-20 | - |
15 | - |
| 14 | 1 | Делитель потока | 1101-15-15-01СП | 1 |
- | - |
| 14 | 1 | Делитель потока | 1101-15-15-01-20СП | - |
1 | - |
| 14 | 1 | Делитель потока | 312001-15-17СП* | 1 |
- | - |
| 14 | 1 | Делитель потока | 312001-15-17-20СП* | - |
1 | - |
| 15 | 1 | Фильтр | 312001-15-10СП | 1 |
- | - |
| 15 | 1 | Фильтр | 312001-15-10-20СП | - |
1 | - |
| 16 | 1 | Шайба 20.ОТ | - | 58 |
58 | - |
| 17 | 1 | Болт М20-6gx60 | 280 728 | 58 |
- | - |
| 17 | 1 | Болт М20-6gx60 | 28 0728-20 | - |
58 | - |
| 18 | 1 | Болт М12-6gx30 | - | 20 |
20 | - |
| 19 | 1 | Фланец | 2501-26-83 | 2 |
- | - |
| 19 | 1 | Фланец | 2501-26-83-20 | - |
2 | - |
| 20 | 1 | Болт М12-6gx35 | - | 12 |
12 | - |
| 21 | 1 | Труба | 2001-16-112СП | 1 |
- | - |
| 21 | 1 | Труба | 2001-16-112-20СП | - |
1 | - |
| 22 | 1 | Кольцо 060-070-58-2-51-1668 | - | 2 |
2 | - |
| 23 | 1 | Фланец | 1501-16-1 | 1 |
- | - |
| 23 | 1 | Фланец | 1501-16-1-20 | - |
1 | - |
| 24 | 1 | Болт 3М12-6gx65 | 280 379 | 8 |
- | - |
| 24 | 1 | Болт 3М12-6gx65 | 28 0379-20 | - |
8 | - |
| 25 | 1 | Сапун | 46-14-141СП | 1 |
- | - |
| 25 | 1 | Сапун | 46-14-141-20СП | - |
1 | - |
| 26 | 1 | Пробка | 2501-15-124СП | 1 |
- | - |
| 26 | 1 | Пробка | 2501-15-124-20СП | - |
1 | - |
| 30 | 1 | Гайка | Н.036.23.022 | 1 |
- | - |
| 30 | 1 | Гайка | Н.036.23.022-20 | - |
1 | - |
| 31 | 1 | Кольцо 018-022-25-2-51-1668 | - | 2 |
2 | - |
| 33 | 1 | Кольцо 024-028-25-2-51-1668 | - | 1 |
1 | - |
| 34 | 1 | Пробка | 375 783 | 1 |
1 | - |
| 35 | 1 | Шайба 10.ОТ | - | 24 |
24 | - |
| 36 | 1 | Болт М10-6gx25 | 280 230 | 8 |
- | - |
| 36 | 1 | Болт М10-6gx25 | 28 0230-20 | - |
8 | - |
| 37 | 1 | Фланец | 2001-16-11 | 2 |
- | - |
| 37 | 1 | Фланец | 2001-16-11-20 | - |
2 | - |
| 38 | 1 | Шайба 12x2 | 310 210 | 4 |
- | - |
| 38 | 1 | Шайба 12x2 | 31 0210-20 | - |
4 | - |
| 39 | 1 | Вал карданный | 2001-49-1-04 | 1 |
- | - |
| 39 | 1 | Вал карданный | 2001-49-1-04-20 | - |
1 | - |
| 40 | 1 | Болт специальный | 2001-16-44 | 16 |
- | - |
| 40 | 1 | Болт специальный | 2001-16-44-20 | - |
16 | - |
| 41 | 1 | Гайка М14?1,5 ОСТ37.001.109-96 | 4599651312 | 16 |
16 | - |
| 41 | 1 | Гайка самоконтрящаяся М14?1,5 (8) ОЦ DIN985 | 168000460 | 16 |
16 | - |
| 42 | 1 | Фланец | 2001-16-31 | 1 |
- | - |
| 42 | 1 | Фланец | 2001-16-31-20 | - |
1 | - |
| 43 | 1 | Шайба 8Т | - | 6 |
6 | - |
| 43 | 1 | Кольцо 039-045-25-2-51-1668 | - | 1 |
1 | - |
| 44 | 1 | Болт М8-6gx30 | - | 4 |
4 | - |
| 46 | 1 | Угольник | 3501-26-159СП | 1 |
- | - |
| 46 | 1 | Угольник | 3501-26-159-20СП | - |
1 | - |
| 47 | 1 | Фланец | 3501-16-28 | 1 |
- | - |
| 47 | 1 | Фланец | 3501-16-28-20 | - |
1 | - |
| 49 | 1 | Гидротрансформатор с редуктором привода насосов | 2001-14-1-01СП | 1 |
- | - |
| 49 | 1 | Гидротрансформатор с редуктором привода насосов | 2001-14-1-01-20СП | - |
1 | - |
| 50 | 1 | Болт М16x1,5-6gx45 | 280 544 | 8 |
- | - |
| 50 | 1 | Болт М16x1,5-6gx45 | 28 0544-20 | - |
8 | - |
| 52 | 1 | Крышка | 312001-16-100СП | 1 |
- | - |
| 52 | 1 | Крышка | 312001-16-100-20СП | - |
1 | - |
| 53 | 1 | Кольцо 130-135-36-2-51-1668 | - | 1 |
1 | - |
| 54 | 1 | Рукав | 46-60-392-07СП | 1 |
- | - |
| 54 | 1 | Рукав | 46-60-392-07-20СП | - |
1 | - |
| 55 | 1 | Торсион | 2001-16-111-01СП | 2 |
2 | - |
| 56 | 1 | Штифт | 325 580 | 2 |
2 | - |
| 57 | 1 | Кольцо 034-038-25-2-51-1668 | - | 2 |
2 | - |
| 58 | 1 | Рукав | 404-26-213-24СП | 1 |
- | - |
| 58 | 1 | Рукав | 404-26-213-24-20СП | - |
1 | - |
| 59 | 1 | Кольцо 012-016-25-2-51-1668 | - | 4 |
4 | - |
| 60 | 1 | Штуцер ввертной | 5001-26-78 | 1 |
- | - |
| 60 | 1 | Штуцер ввертной | 5001-26-78-20 | - |
1 | - |
| 61 | 1 | Кольцо 055-065-58-2-51-1668 | - | 2 |
2 | - |
| 63 | 1 | Кольцо С70 ГОСТ 13941-86 | 580 665 | 2 |
2 | - |
| 64 | 1 | Шайба | 315 186 | 16 |
- | - |
| 64 | 1 | Шайба | 31 5186-20 | - |
16 | - |
| 64 | 1 | Кольцо 049-055-36-2-51-1668 | - | 2 |
2 | - |
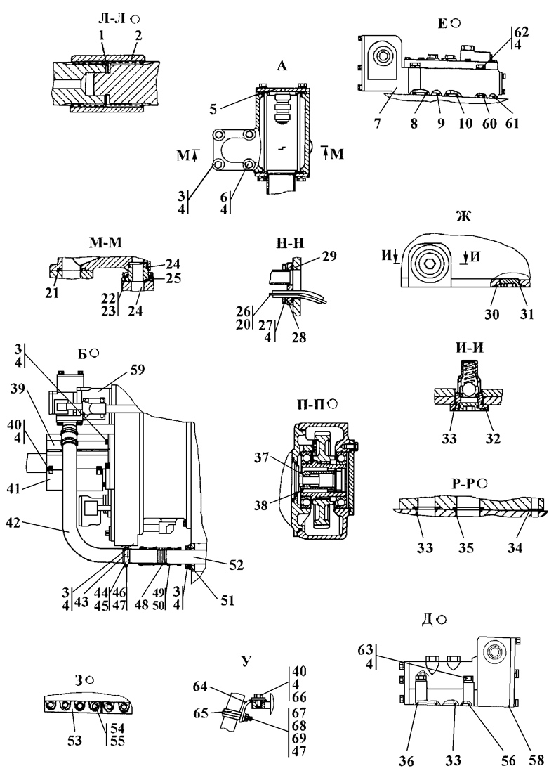
| 1 | 2 | Кольцо С52 ГОСТ 13943-86 | 580 515 | 1 |
1 | - |
| 2 | 2 | Муфта | 2001-16-28 | 1 |
1 | - |
| 3 | 2 | Болт М12-6gx30 | - | 20 |
20 | - |
| 4 | 2 | Шайба 12.ОТ | - | 65 |
65 | - |
| 5 | 2 | Заборник | 312001-16-102СП | 1 |
- | - |
| 5 | 2 | Заборник | 312001-16-102-20СП | - |
1 | - |
| 6 | 2 | Болт М12-6gx90 | 280 388 | 15 |
- | - |
| 6 | 2 | Болт М12-6gx90 | 28 0388-20 | - |
15 | - |
| 7 | 2 | Блок управления | 1501-15-20СП | 1 |
- | - |
| 7 | 2 | Блок управления | 1501-15-20-20СП | - |
1 | - |
| 8 | 2 | Кольцо 034-038-25-2-51-1668 | - | 2 |
2 | - |
| 9 | 2 | Кольцо 049-055-36-2-51-1668 | - | 2 |
2 | - |
| 10 | 2 | Кольцо 025-030-30-2-51-1668 | - | 5 |
5 | - |
| 20 | 2 | Прокладка | 700-40-6575 | 1 |
1 | - |
| 21 | 2 | Кольцо 060-070-58-2-51-1668 | - | 2 |
2 | - |
| 22 | 2 | Болт М10-6gx25 | 280 230 | 8 |
- | - |
| 22 | 2 | Болт М10-6gx25 | 28 0230-20 | - |
8 | - |
| 23 | 2 | Шайба 10.ОТ | - | 24 |
24 | - |
| 24 | 2 | Кольцо 038-046-46-2-51-1668 | - | 5 |
5 | - |
| 25 | 2 | Фланец | 2001-16-11 | 2 |
- | - |
| 25 | 2 | Фланец | 2001-16-11-20 | - |
2 | - |
| 26 | 2 | Линейка | 2001-16-106-01СП | 1 |
1 | - |
| 27 | 2 | Болт М12-6gx35 | - | 12 |
12 | - |
| 28 | 2 | Горловина | 2001-16-105-01СП | 1 |
- | - |
| 28 | 2 | Горловина | 2001-16-105-01-20СП | - |
- | - |
| 29 | 2 | Кольцо 080-090-58-2-3 | - | 1 |
1 | - |
| 30 | 2 | Пробка | 375969 | 1 |
- | - |
| 30 | 2 | Пробка | 375969-20 | - |
1 | - |
| 31 | 2 | Кольцо 040-045-30-2-3 ГОСТ18829-73 | - | 2 |
2 | - |
| 31 | 2 | Кольцо 045-050-30-2-51-1668 | - | 1 |
1 | - |
| 32 | 2 | Клапан | 1101-16-112СП | 1 |
- | - |
| 32 | 2 | Клапан | 1101-16-112-20СП | - |
1 | - |
| 33 | 2 | Кольцо 032-038-36-2-51-1668 | - | 5 |
5 | - |
| 34 | 2 | Кольцо 012-016-25-2-51-1668 | - | 4 |
4 | - |
| 35 | 2 | Кольцо 040-048-46-2-51-1668 | - | 2 |
2 | - |
| 36 | 2 | Кольцо 042-050-46-2-51-1668 | - | 2 |
2 | - |
| 37 | 2 | Кольцо С34 ГОСТ 13940-86 | 580 307 | 1 |
1 | - |
| 38 | 2 | Муфта | 2001-16-32 | 1 |
1 | - |
| 39 | 2 | Кожух | 2001-16-108СП | 1 |
- | - |
| 39 | 2 | Кожух | 2001-16-108-20СП | - |
1 | - |
| 40 | 2 | Болт М12x1,25-6gx25 | - | 6 |
6 | - |
| 41 | 2 | Кожух | 2001-16-109СП | 1 |
- | - |
| 41 | 2 | Кожух | 2001-16-109-20СП | - |
1 | - |
| 42 | 2 | Труба | 2001-16-5 | 1 |
- | - |
| 42 | 2 | Труба | 2001-16-5-20 | - |
1 | - |
| 43 | 2 | Опора | 2001-16-101СП | 1 |
- | - |
| 43 | 2 | Опора | 2001-16-101-20СП | - |
1 | - |
| 44 | 2 | Бугель | 312501-94-105 | 1 |
- | - |
| 44 | 2 | Бугель | 312501-94-105-20 | - |
1 | - |
| 45 | 2 | Уплотнение | 400 040 | 1 |
1 | - |
| 46 | 2 | Болт М8-6gx70 | - | 2 |
2 | - |
| 47 | 2 | Шайба 8 | 310 140 | 4 |
- | - |
| 47 | 2 | Шайба 8 | 31 0140-20 | - |
4 | - |
| 48 | 2 | Рукав | 46 1701-04 | 2 |
- | - |
| 48 | 2 | Рукав | 46 1701-04-20 | - |
2 | - |
| 49 | 2 | Хомут (допускается замена на поз.50) | 5001-26-130СП | 8 |
8 | - |
| 50 | 2 | Хомут стяжной червячный 1085-У-02 ПО4.435.002ТУ (допускается замена на поз.49) | - | 8 |
8 | - |
| 51 | 2 | Кольцо 100-110-58-2-ИРП-1314-1 | - | 1 |
1 | - |
| 52 | 2 | Трубопровод | 2001-16-100СП | 1 |
- | - |
| 52 | 2 | Трубопровод | 2001-16-100-20СП | - |
1 | - |
| 53 | 2 | Планка | 2001-16-43 | 4 |
4 | - |
| 54 | 2 | Болт М20-6gx60 | 280 728 | 58 |
- | - |
| 54 | 2 | Болт М20-6gx60 | 28 0728-20 | - |
58 | - |
| 55 | 2 | Шайба 20.ОТ | - | 58 |
58 | - |
| 56 | 2 | Кольцо 022-026-25-2-51-1668 | - | 3 |
3 | - |
| 58 | 2 | Блок управления | 1501-15-41СП | 1 |
- | - |
| 58 | 2 | Блок управления | 1501-15-41-20СП | - |
1 | - |
| 59 | 2 | Насос НШ150Г-4Л | - | 1 |
- | - |
| 59 | 2 | Насос НШ150Г-4Л | - | - |
1 | - |
| 60 | 2 | Кольцо 014-018-25-2-51-1668 | - | 1 |
1 | - |
| 61 | 2 | Кольцо 075-081-36-2-51-1668 | - | 1 |
1 | - |
| 62 | 2 | Болт М12-6gx85 | 28 0383-01 | 4 |
- | - |
| 62 | 2 | Болт М12-6gx85 | 28 0383-01-20 | - |
4 | - |
| 63 | 2 | Болт 3М12-6gx65 | 280 379 | 4 |
- | - |
| 63 | 2 | Болт3 М12-6gx65 | 28 0379-20 | - |
4 | - |
| 64 | 2 | Кронштейн | 2001-16-15 | 1 |
- | - |
| 64 | 2 | Кронштейн | 2001-16-15-20 | - |
1 | - |
| 65 | 2 | Пластина | 400 324 | 1 |
- | - |
| 65 | 2 | Пластина | 2501-12-170 | - |
1 | - |
| 66 | 2 | Шайба 12 | 310 230 | 2 |
- | - |
| 66 | 2 | Шайба 12 | 31 0230-20 | - |
2 | - |
| 67 | 2 | Хомут | 2501-15-107 | 1 |
- | - |
| 67 | 2 | Хомут | 2501-15-107-20 | - |
1 | - |
| 68 | 2 | Гайка М8 ГОСТ 5915-70 | - | 2 |
2 | - |
| 69 | 2 | Шайба 8Т | - | 6 |
6 | - |