| № п/п | № рис. | Наименование | Код детали | УХЛ | Т | У |
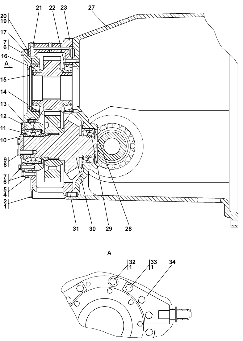
| 0 | 0 | Передача главная | 2001-12-12СП | 1 |
1 | - |
| 1 | 1 | Шестерня | 2001-12-56 | 1 |
1 | - |
| 2 | 1 | Шайба | 310 225 | 40 |
40 | - |
| 3 | 1 | Болт М12-6gx40 ГОСТ 7798-70 | 280 350 | 40 |
40 | - |
| 4 | 1 | Кольцо С170 ГОСТ 13941-86 | 700-58-2064 | 1 |
1 | - |
| 5 | 1 | Подшипник 32219 ГОСТ 8328-75 | - | 1 |
1 | - |
| 6 | 1 | Кольцо С95 ГОСТ 13940-86 | 580 720 | 1 |
1 | - |
| 7 | 1 | Ступица | 2001-12-57 | 1 |
1 | - |
| 8 | 1 | Шайба | 315 271 | 34 |
34 | - |
| 9 | 1 | Гайка | 305 250 | 14 |
14 | - |
| 10 | 1 | Болт | 2001-12-67 | 14 |
14 | - |
| 11 | 1 | Стакан | 2001-12-60 | 1 |
1 | - |
| 12 | 1 | Пробка 3-КГ 1/4?20.019 ТУ 23.1.506-91 | 370 260 | 7 |
7 | - |
| 13 | 1 | Гайка (применяется с поз.14 взамен поз.4) | 41 5165-05 | 1 |
1 | - |
| 14 | 1 | Труба (применяется с поз.13 взамен поз.4) | 2001-12-79 | 1 |
1 | - |
| 15 | 1 | Труба (допускается замена на поз.14 совместно с поз.13) | 2001-12-110СП | 1 |
1 | - |
| 16 | 1 | Гайка М12-6Н.6 ГОСТ 5915-70 | - | 1 |
1 | - |
| 17 | 1 | Угольник концевой | 415 148 | 1 |
1 | - |
| 19 | 1 | Болт | 285 120 | 1 |
1 | - |
| 20 | 1 | Прокладка | 2001-12-70 | 8 |
8 | - |
| 21 | 1 | Прокладка | 2001-12-70-01 | 14 |
14 | - |
| 22 | 1 | Стакан | 2001-12-61 | 1 |
1 | - |
| 23 | 1 | Шарик Б6-200 ГОСТ 3722-81 | - | 1 |
1 | - |
| 24 | 1 | Пластина | 2001-12-65 | 1 |
1 | - |
| 25 | 1 | Втулка | 2001-12-66 | 1 |
1 | - |
| 26 | 1 | Винт М8-6gx16 ГОСТ 1478-93 | 350 520 | 1 |
1 | - |
| 27 | 1 | Гайка | 2501-12-117 | 1 |
1 | - |
| 28 | 1 | Подшипник 97520АУ1 ГОСТ 6364-78 | - | 1 |
1 | - |
| 29 | 1 | Пластина | 2501-12-116 | 1 |
1 | - |
| 1 | 2 | Шайба | 315 271 | 34 |
34 | - |
| 2 | 2 | Болт М16x1,5x170 | 280 580 | 12 |
12 | - |
| 4 | 2 | Прокладка | 2001-12-69-01 | 14 |
14 | - |
| 5 | 2 | Прокладка | 2001-12-69 | 8 |
8 | - |
| 6 | 2 | Шайба | 310 225 | 40 |
40 | - |
| 7 | 2 | Болт М12x40 | 280 350 | 40 |
40 | - |
| 8 | 2 | Проволока КС 1,6 | - | 0,2м |
0,2м | - |
| 9 | 2 | Болт 3М14x1,5-6gx40 | 28 0516-01 | 4 |
4 | - |
| 10 | 2 | Крышка | 2001-12-63 | 1 |
1 | - |
| 11 | 2 | Подшипник 97515 ГОСТ 6364-78 | - | 1 |
1 | - |
| 12 | 2 | Пластина | 2001-12-89 | 1 |
1 | - |
| 13 | 2 | Стакан | 2001-12-87 | 1 |
1 | - |
| 14 | 2 | Шестерня | 2001-12-119СП | 1 |
1 | - |
| 15 | 2 | Шестерня | 2001-12-81 | 1 |
1 | - |
| 16 | 2 | Подшипник 6-2007122А ТУ 37.006162-89 | - | 2 |
2 | - |
| 17 | 2 | Стакан | 2001-12-58 | 1 |
1 | - |
| 19 | 2 | Прокладка | 2001-12-68-01 | 14 |
14 | - |
| 20 | 2 | Прокладка | 2001-12-68 | 8 |
8 | - |
| 21 | 2 | Пробка 3-КГ 1/4?20.019 ТУ 23.1.506-91 | 370 260 | 7 |
7 | - |
| 22 | 2 | Болт М12-6gx50 | 280 364 | 5 |
5 | - |
| 23 | 2 | Корпус | 2001-12-51 | 1 |
1 | - |
| 24 | 2 | Проволока КС 1 | - | 0,8м |
0,8м | - |
| 27 | 2 | Корпус | 2001-12-50 | 1 |
1 | - |
| 28 | 2 | Кольцо С60 ГОСТ 13940-86 | 580 609 | 1 |
1 | - |
| 29 | 2 | Подшипник 53612Н ГОСТ 24696-81(доп. зам. на поз.35) | - | 1 |
1 | - |
| 30 | 2 | Шестерня | 2001-12-88 | 1 |
1 | - |
| 31 | 2 | Штифт | 325 463 | 2 |
2 | - |
| 32 | 2 | Болт М16x1,5-6gx60 | - | 2 |
2 | - |
| 33 | 2 | Болт М16x1,5-6gx200 | 280 587 | 6 |
6 | - |
| 34 | 2 | Кронштейн | 2001-12-108СП | 2 |
2 | - |
| 35 | 2 | Подшипник 22312W33 | - | 1 |
1 | - |