| № п/п | № рис. | Наименование | Код детали | УХЛ | Т | У |
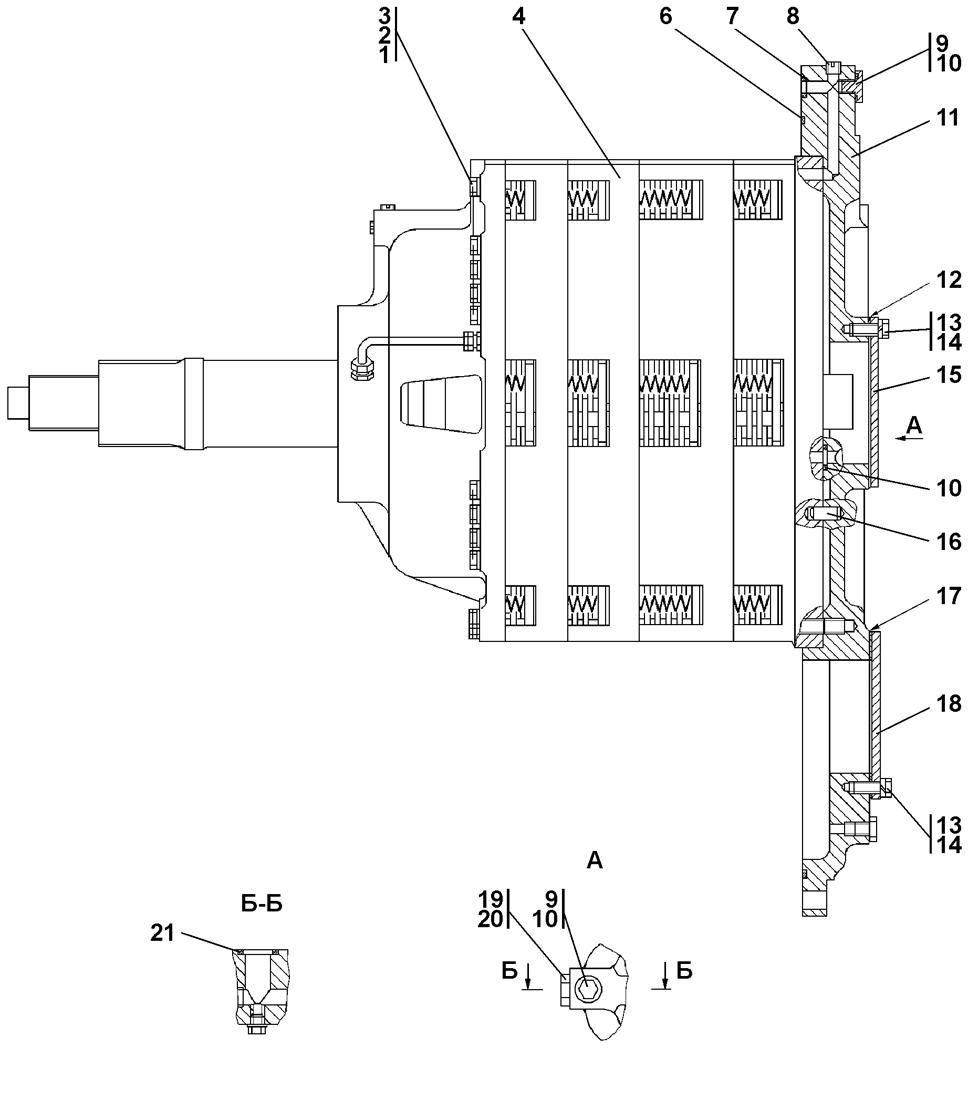
| 0 | 1 | Коробка передач | 2001-12-11СП | 1 |
- | - |
| 0 | 1 | Коробка передач | 2001-12-11-20СП | - |
1 | - |
| 1 | 1 | Проволока КС-1 ГОСТ 792-67 | - | 1,5м |
1,5м | - |
| 2 | 1 | Шайба | 315 220 | 21 |
21 | - |
| 3 | 1 | Болт специальный | 2501-12-218-02 | 20 |
20 | - |
| 4 | 1 | Коробка передач планетарная | 2001-12-10СП | 1 |
1 | - |
| 6 | 1 | Кольцо | 40 0468-31 | 1 |
1 | - |
| 7 | 1 | Кольцо 030-035-30-2 ИРП 1314-1 | - | 5 |
5 | - |
| 8 | 1 | Пробка 3-КГ 1/4? ТУ 23.1.506-91 | 370 260 | 5 |
- | - |
| 8 | 1 | Пробка 3-КГ 1/4? ТУ 23.1.5-6-91 | 37 0260-20 | - |
5 | - |
| 9 | 1 | Пробка | 375 331 | 7 |
- | - |
| 9 | 1 | Пробка | 37 5331-20 | - |
7 | - |
| 10 | 1 | Кольцо 018-022-25-2-51-1668 | - | 9 |
9 | - |
| 11 | 1 | Корпус | 2001-12-52 | 1 |
- | - |
| 11 | 1 | Корпус | 2001-12-52-20 | - |
1 | - |
| 12 | 1 | Прокладка | 450 272 | 1 |
- | - |
| 12 | 1 | Прокладка | 45 0272-20 | - |
1 | - |
| 13 | 1 | Болт М12-6gx30 ГОСТ 7796-70 | - | 18 |
18 | - |
| 14 | 1 | Шайба 12.ОТ ГОСТ 6402-70 | - | 18 |
18 | - |
| 15 | 1 | Крышка | 2001-12-74 | 1 |
1 | - |
| 16 | 1 | Штифт | 325 382 | 2 |
2 | - |
| 17 | 1 | Прокладка | 450 271 | 1 |
- | - |
| 17 | 1 | Прокладка | 45 0271-20 | - |
1 | - |
| 18 | 1 | Крышка | 2001-12-75 | 1 |
1 | - |
| 19 | 1 | Пробка | 375 625 | 1 |
- | - |
| 19 | 1 | Пробка | 37 5625-20 | - |
1 | - |
| 20 | 1 | Кольцо 016-020-25-2-51–1668 | - | 1 |
1 | - |
| 21 | 1 | Кольцо 032-038-36-2-51-1668 ТУ2531-260-00149245-00 | - | 1 |
1 | - |