![]() |
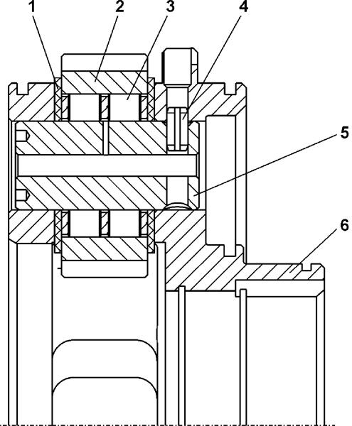
| Рис.1 |
| № п/п | № рис. | Наименование | Код детали | |||
| 0 | 1 | Водило | 2001-12-103СП | |||
| 1 | 1 | Кольцо упорное | 27.12.2001 | |||
| 2 | 1 | Сателлит | 26.12.2001 | |||
| 3 | 1 | Подшипник 6-252807Д | - | |||
| 4 | 1 | Штифт | 2001-12-111СП | |||
| 5 | 1 | Ось | 30.12.2001 | |||
| 6 | 1 | Водило | 09.12.2001 |
Обращаем Ваше внимание, что пункты отмеченные звездочкой, обязательны для заполнения.